EasyManua.ls Logo

JVC CA-UXL30R - Uso de Los Temporizadores; Uso de Los Temporizadores de Ajuste Diario y de Grabación

JVC CA-UXL30R
189 pages
To Next Page IconTo Next Page
To Next Page IconTo Next Page
To Previous Page IconTo Previous Page
To Previous Page IconTo Previous Page
Loading...
– 21 –
Español
Uso de los temporizadores
Se disponen de tres temporizadores—temporizador de ajuste
diario, temporizador de grabación y temporizador de apagado
(“Sleep”).
Antes de usar estos temporizadores, deberá ajustar el reloj
incorporado a la unidad (consulte la página 9).
Uso de los temporizadores de ajuste diario y
de grabación
Podrá programar el temporizador con la unidad encendida o
apagada.
Al llegar la hora de inicio programada, la unidad se enciende
automáticamente (el indicador (temporizador) parpadea
justo antes de la hora de inicio, y continúa parpadeando
mientras está funcionando el temporizador). Luego, al llegar
la hora de término programada, la unidad se apaga
automáticamente (en espera).
La programación del temporizador se retiene en la memoria
hasta que la cambie.
Cuando el indicador DAILY está encendido en la pantalla,
el temporizador actúa como temporizador de ajuste diario.
Una vez programado el temporizador de ajuste diario, se
activará todos los días, a la misma hora, hasta que se
desconecte el temporizador.
Cuando el indicador REC está encendido en la pantalla,
el temporizador actuará como temporizador de grabación.
Después que actúe el temporizador de grabación, los
detalles de la programación permanecerán almacenados
hasta que se desconecte el temporizador.
Antes de empezar...
Cuando utilice “TUNER” (sintonizador) como fuente de
reproducción, asegúrese de seleccionar la emisora deseada
antes de desconectar la alimentación.
Hay un límite de tiempo para realizar los siguientes pasos.
Si se cancelan los ajustes antes de haber terminado,
comience otra vez desde el paso 1.
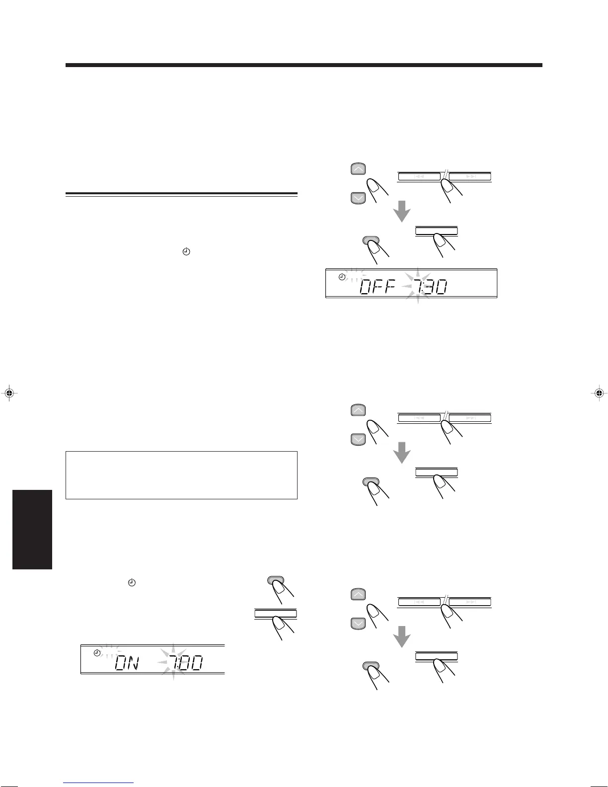
1
Pulse CLOCK/TIMER.
El indicador (temporizador) se enciende,
y el indicador del modo de temporizador
(DAILY o REC) y la hora de inicio actual
parpadean en la pantalla.
La unidad entra en el modo de ajuste de la
hora de inicio.
2
Indique la hora de inicio deseada.
1) Pulse UP o DOWN paraz ajustar la hora, y luego pulse
CLOCK/TIMER.
2) Pulse UP o DOWN para ajustar los minutos y luego
pulse CLOCK/TIMER.
La unidad entra en el modo de ajuste de la hora de término.
3
Indique la hora de término deseada
(en espera).
1) Pulse UP o DOWN para ajustar la hora, y luego pulse
CLOCK/TIMER.
2) Pulse UP o DOWN para ajustar los minutos y luego
pulse CLOCK/TIMER.
La unidad entra en el modo de selección de fuente.
4
Pulse UP o DOWN para seleccionar el modo
de temporizador (temporizador de ajuste
diario o temporizador de grabación) y la
fuente que se va a reproducir, y luego pulse
CLOCK/TIMER.
[
DAILY
]
[
DAILY
]
CLOCK
/TIMER
CLOCK/TIMER
UP
DOWN
CLOCK
/TIMER
UPDOWN
CLOCK/TIMER
UP
DOWN
CLOCK
/TIMER
UPDOWN
CLOCK/TIMER
UP
DOWN
CLOCK
/TIMER
UPDOWN
CLOCK/TIMER
SP19-26_UX-L40R&30R[EN]f.pm6 1/11/02, 2:16 PM21

Table of Contents

Related product manuals