EasyManua.ls Logo

JVC GZ-MG50E - Manual Settings in MSET Menu; How to Select a Menu Item; Manual Exposure

JVC GZ-MG50E
102 pages
To Next Page IconTo Next Page
To Next Page IconTo Next Page
To Previous Page IconTo Previous Page
To Previous Page IconTo Previous Page
Loading...
32 EN
RECORDING FEATURES
You can use manual recording functions easily
by selecting items in the MSET menus.
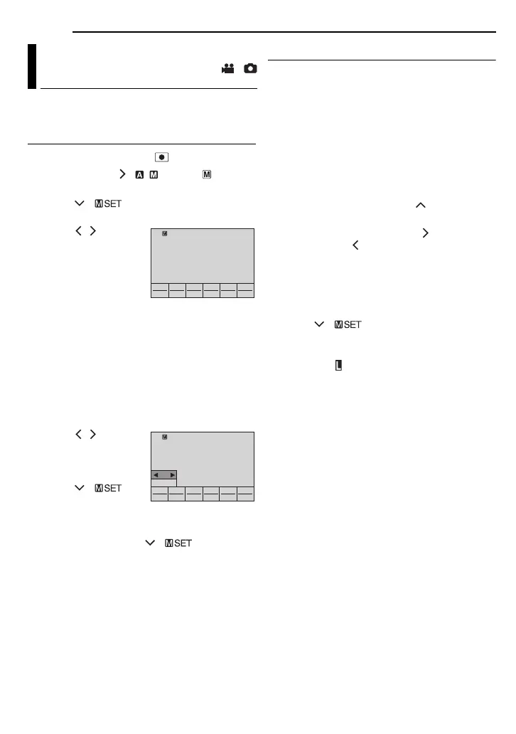
How to Select a Menu Item
1 Set the power switch to .
2 Press and hold ( / ) so that is
displayed.
3 Press ( ). The menu screen
appears.
4 Press / to select
a desired item from the
MSET menu, then press
49.
There are 6 items in the
MSET menu.
AE: Manual Exposure ( pg. 32)
AF: Manual Focus ( pg. 33)
WB: White Balance ( pg. 34)
S.SP: Shutter Speed ( pg. 35)
P.A E: Program AE ( pg. 36)
EF: Effect ( pg. 36)
Step 5 and 6 below are example of the
manual exposure setting.
5 Press / to select
a setting, then press
49. The setting is
completed.
6 Press ( ) to
close the MSET menu.
NOTE:
While recording is in progress, [S.SP], [P.AE] and
[EF] cannot be set even if ( ) is pressed.
Manual Exposure
Manual exposure is recommended in the
following situations:
When shooting using reverse lighting or when
the background is too bright.
When shooting on a reflective natural
background such as at the beach or when
skiing.
When the background is overly dark or the
subject is bright.
1 Select [AE] in the MSET menu. ( pg. 32)
2 If [AUTO] is selected, press . (video mode
only)
3 To brighten the image, press . To darken
the image, press .
Adjustment range
For video recording: –6 to +6 or AUTO (automatic
exposure)
For still image recording: –2.0 to +2.0 (EV)
4 Press 49. The setting is completed.
5 Press ( ) to close the MSET menu.
To lock the exposure
After step 5, press and hold 49 for over 2
seconds. The indicator appears.
NOTES:
You cannot use the manual exposure at the same
time when [P.AE] is set to [SPOTLIGHT] or
[SNOW] ( pg. 36), or with backlight
compensation ( pg. 31).
If the adjustment does not cause any visible
change in brightness, set [GAIN UP] to [ON].
( pg. 50)
Manual Settings in MSET
Menu
/
AE
AUTO
AF
AUTO
WB
AUTO
S.SP
AUTO
P.AE
OFF
EF
OFF
AUTO
± 0
AE
AUTO
AF
AUTO
WB
AUTO
S.SP
AUTO
P.AE
OFF
EF
OFF

Table of Contents

Related product manuals