EasyManua.ls Logo

JVC GZ-MG57E - Indications on LCD Monitor

JVC GZ-MG57E
72 pages
To Next Page IconTo Next Page
To Next Page IconTo Next Page
To Previous Page IconTo Previous Page
To Previous Page IconTo Previous Page
Loading...
12 EN Indications on LCD Monitor
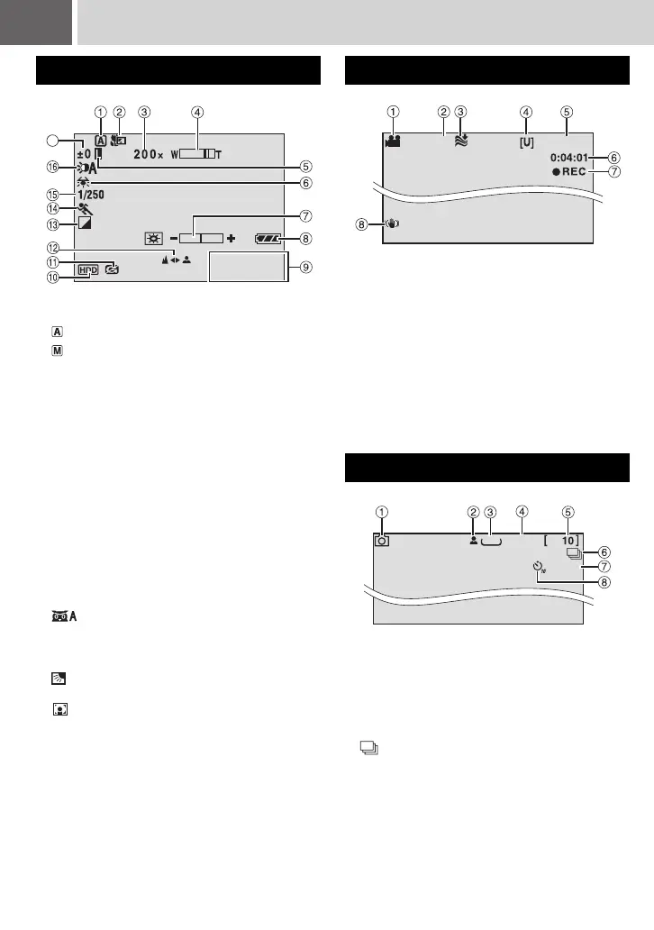
a Selected Operation Mode Indicator
( pg. 24)
: Auto Mode
: Manual Mode
b Tele Macro Mode Indicator ( pg. 57, 59)
c Approximate Zoom Ratio ( pg. 20, 23)
d Zoom Indicator ( pg. 20, 23)
e Iris Lock Indicator ( pg. 25)
f White Balance Indicator ( pg. 25)
g Brightness Control Indicator ( pg. 56)
h Battery Indicator ( pg. 64)
i Date/Time ( pg. 56)
j Selected Medium Indicator ( pg. 17, 56)
k Drop Detection Indicator (Appears when
[DROP DETECTION] is set to [OFF].)
( pg. 55)
l Manual Focus Adjustment Indicator
( pg. 25)
m Effect Mode Indicator ( pg. 26)
n Program AE Mode Indicator ( pg. 26)/
: Nightscope Indicator ( pg. 27)
o Shutter Speed ( pg. 26)
p LED Light Indicator ( pg. 20, 23)
q ±: Exposure Adjustment Indicator ( pg. 25)
: Backlight Compensation Indicator
( pg. 27)
: Spot Exposure Control Indicator
( pg. 27)
a Mode Indicator ( pg. 18)
b Screen Size Indicator ( pg. 20)
c Wind Cut Indicator ( pg. 57)
d Picture Quality: [U] (ultra fine), [F] (fine), [N]
(normal), [E] (economy) ( pg. 57)
e Remaining Time ( pg. 18, 71)
f Counter ( pg. 56)
g 7REC: (Appears during recording.)
( pg. 18)
79: (Appears during record-standby mode.)
h Digital Image Stabiliser (DIS) Indicator
( pg. 57)
a Mode Indicator ( pg. 22)
b Focus Indicator ( pg. 22)
c Image Size: 1280 (1280 x 960), 1024 (1024 x
768), 640 (640 x 480) ( pg. 59)
d Picture Quality: FINE (fine) or STD
(standard) ( pg. 59)
e Remaining Number of Shots ( pg. 71)
f : Continuous Shooting Mode Indicator
( pg. 23)
g Shooting Indicator ( pg. 22)
h Self-Timer Recording Indicator ( pg. 59)
During both Video and Still Image Recording
11:30
10. 11. 2006
17
During Video Recording Only
During Still Image Recording Only
[0h56m]
16:9
640
FINE
PHOTO
M6E3PAL.book Page 12 Monday, May 29, 2006 8:50 AM

Table of Contents

Other manuals for JVC GZ-MG57E

Related product manuals