EasyManua.ls Logo

JVC KD-SR61 - Page 29

JVC KD-SR61
62 pages
Print Icon
To Next Page IconTo Next Page
To Next Page IconTo Next Page
To Previous Page IconTo Previous Page
To Previous Page IconTo Previous Page
Loading...
FRANÇAIS
9
Data Size: B6L (182 mm x 128 mm)
Book Size: B6L (182 mm x 128 mm)
Pandor
(pour
KD-SR61
)
Préparation:
Installez la dernière version de l’application Pandora sur votre appareil (iPhone/
iPod touch), puis créez un compte et connectez-vous sur Pandora.
• Sélectionnez [
ON
] pour [
PANDORA
] dans [
SRC SELECT
].
( 4)
Démarrez l’écoute
1
Ouvrez l’application Pandora sur votre appareil.
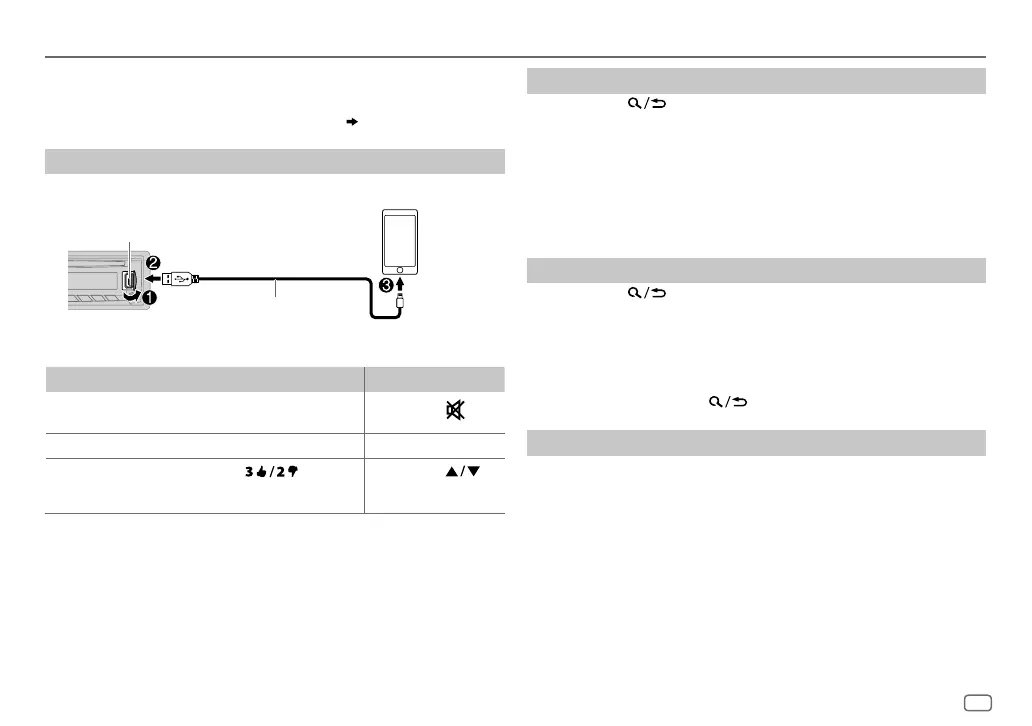
2 Connectez votre appareil à la prise d’entrée USB.
La source change sur PANDORA et la diffusion démarre.
Pour Sur la façade Sur la télécommande
Lecture / pause Appuyez sur le bouton de
volume.
Appuyez sur
.
Sauter une plage
Appuyez sur
T
. Appuyez sur
I
.
Fait défiler vers
le haut ou vers le
bas*
2
Appuyez sur .
Appuyez sur
.
*
1
Ne laissez pas le câble à l’intérieur de la voiture quand il nest pas utilisé.
*
2
Si le défilement vers le bas est sélectionné, la plage actuelle est sautée.
Création et sauvegarde d’une nouvelle station
1
Appuyez sur .
2 Tournez le bouton de volume pour choisir [
NEW STATION
], puis appuyez
sur le bouton.
3 Tournez le bouton de volume pour choisir [
FROM TRACK
] ou [
FROM ARTIST
],
puis appuyez sur le bouton.
Une nouvelle station est créée sur la base du morceau ou de l’artiste actuel.
4 Maintenez enfoncé la touche numérique 1, 4, 5 ou 6 pour mémoriser.
Pour sélectionner une station mémorisée, appuyez sur la touche numérique
1
,
4
,
5
ou
6
.
Recherchez une station mémorisée
1
Appuyez sur .
2 Tournez le bouton de volume pour faire une sélection, puis appuyez sur
le bouton.
[
BY DATE
]: En fonction de la date d’enregistrement.
[
A-Z
]: Ordre alphabétique.
3 Tournez le bouton de volume sur la station souhaitée, puis appuyez sur
le bouton.
Pour annuler, maintenez enfoncée .
Marquez un morceau ou une informations d’artiste
1
Maintenez enfoncé le bouton de volume
.
2 Tournez le bouton de volume pour faire une sélection, puis appuyez sur
le bouton.
[
THIS TRACK
]: Informations sur le morceau actuel
[
THIS ARTIST
]: Informations sur l’artiste actuel
“BOOKMARKED” apparaît et l’information est mémorisée sur votre périphérique.
Le signet est disponible sur votre compte Pandora mais pas sur cet appareil.
Prise d’entrée USB
(Accessoire du iPod/iPhone)
*
1
JS_JVC_KD_SR61_SR41_J_FR.indd 9JS_JVC_KD_SR61_SR41_J_FR.indd 9 1/7/2015 5:20:28 PM1/7/2015 5:20:28 PM

Related product manuals