EasyManua.ls Logo

JVC KD-SR61 - Pandora Music Service; Pandora Setup and Preparation; Pandora Listening Operations; Managing Pandora Stations

JVC KD-SR61
62 pages
Print Icon
To Next Page IconTo Next Page
To Next Page IconTo Next Page
To Previous Page IconTo Previous Page
To Previous Page IconTo Previous Page
Loading...
ENGLISH
9
Data Size: B6L (182 mm x 128 mm)
Book Size: B6L (182 mm x 128 mm)
Pandora®
(for
KD-SR61
)
Preparation:
Install the latest version of the Pandora application on your device
(iPhone/ iPod touch), then create an account and log in to Pandora.
• Select [
ON
] for [
PANDORA
] in [
SRC SELECT
].
( 4)
Start listening
1
Open the Pandora application on your device.
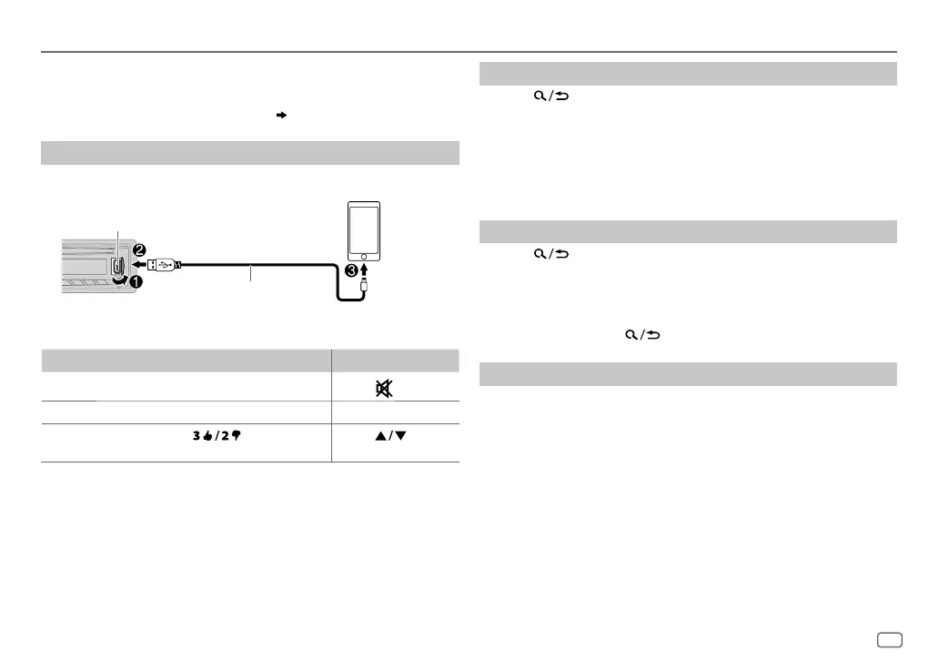
2 Connect your device to the USB input terminal.
The source changes to PANDORA and broadcast starts.
To On the faceplate On the remote control
Playback / pause Press the volume knob.
Press
.
Skip a track
Press T. Press I.
Thumbs up or
thumbs down*
2
Press .
Press
.
*
1
Do not leave the cable inside the car when not using.
*
2
If thumbs down is selected, the current track is skipped.
Create and save a new station
1
Press .
2 Turn the volume knob to select [
NEW STATION
], then press the knob.
3 Turn the volume knob to select [
FROM TRACK
] or [
FROM ARTIST
], then
press the knob.
A new station is created based on the current song or artist.
4 Press and hold number button 1, 4, 5 or 6 to store.
To select a stored station, press number button 1, 4, 5 or 6.
Search for a registered station
1
Press .
2 Turn the volume knob to make a selection, then press the knob.
[
BYDATE
]:
According to the registered date.
[
A-Z
]:
Alphabetical order.
3 Turn the volume knob to the desired station, then press the knob.
To cancel, press and hold .
Bookmark a song or artist information
1
Press and hold the volume knob.
2 Turn the volume knob to make a selection, then press the knob.
[
THIS TRACK
]: Current song information
[
THIS ARTIST
]: Current artist information
“BOOKMARKED” appears and the information is stored to your device.
The bookmark is available on your Pandora account but not on this
unit.
USB input terminal
(Accessory of the iPod/iPhone)
*
1
JS_JVC_KD_SR61_SR41_J_EN_f.indd 9JS_JVC_KD_SR61_SR41_J_EN_f.indd 9 18/12/2014 4:36:33 PM18/12/2014 4:36:33 PM

Related product manuals