EasyManua.ls Logo

JVC KD-X352BT - Spotify Integration; Spotify Setup and Content Management

JVC KD-X352BT
128 pages
Print Icon
To Next Page IconTo Next Page
To Next Page IconTo Next Page
To Previous Page IconTo Previous Page
To Previous Page IconTo Previous Page
Loading...
ENGLISH
9
Data Size: B6L (182 mm x 128 mm)
Book Size: B6L (182 mm x 128 mm)
Spotify
Preparation:
Install the latest version of the Spotify application on your device (iPhone/
iPod touch), then create an account and log in to Spotify.
• Select
[ON]
for
[SPOTIFY SRC]
in
[SOURCE SELECT]
.
( 4)
Start listening
1
Open the Spotify application on your device.
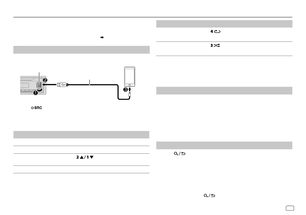
2 Connect your device to the USB input terminal.
3 Press repeatedly to select SPOTIFY.
Broadcast starts automatically
* Do not leave the cable inside the car when not using.
To On the faceplate
Playback/pause Press the volume knob.
Skip a track
Press S
*
1
/ T.
Thumbs up or thumbs
down
*
2
Press .
Start radio Press and hold 5.
To On the faceplate
Repeat play
*
3
Press repeatedly.
ALL REPEAT
,
ONE REPEAT
*
1
,
REPEAT OFF
Random play
*
3
Press repeatedly.
*
1
ALL RANDOM
,
RANDOM OFF
*
1
Available for premium account users only.
*
2
This feature is available for tracks in Radio only. If thumbs down is selected, the current
track is skipped.
*
3
Available for tracks in Playlists only.
Save favorite song information
While listening to the Radio on Spotify...
Press and hold the volume knob.
“SAVED” appears and the information is stored to “Your Music” or “Your
Library” on your Spotify account.
To unsave, repeat the same procedure.
“REMOVED” appears and the information is removed from “Your Music”
or “Your Library” on your Spotify account.
Search for a song or station
1
Press .
2 Turn the volume knob to select a list type, then press the knob.
The list types displayed differ depending on the information sent
from Spotify.
3 Turn the volume knob to select the desired song or station, then
press the knob.
You can browse through the list quickly by turning the volume knob
quickly.
To cancel, press and hold
.
USB input terminal
Accessory of the iPod/iPhone*
JS_JVC_KD_X352BT_E_EN_2.indd 9JS_JVC_KD_X352BT_E_EN_2.indd 9 7/24/2017 2:55:19 PM7/24/2017 2:55:19 PM

Table of Contents

Related product manuals