EasyManua.ls Logo

JVC L-E22 - Page 12

JVC L-E22
20 pages
Print Icon
To Next Page IconTo Next Page
To Next Page IconTo Next Page
To Previous Page IconTo Previous Page
To Previous Page IconTo Previous Page
Loading...
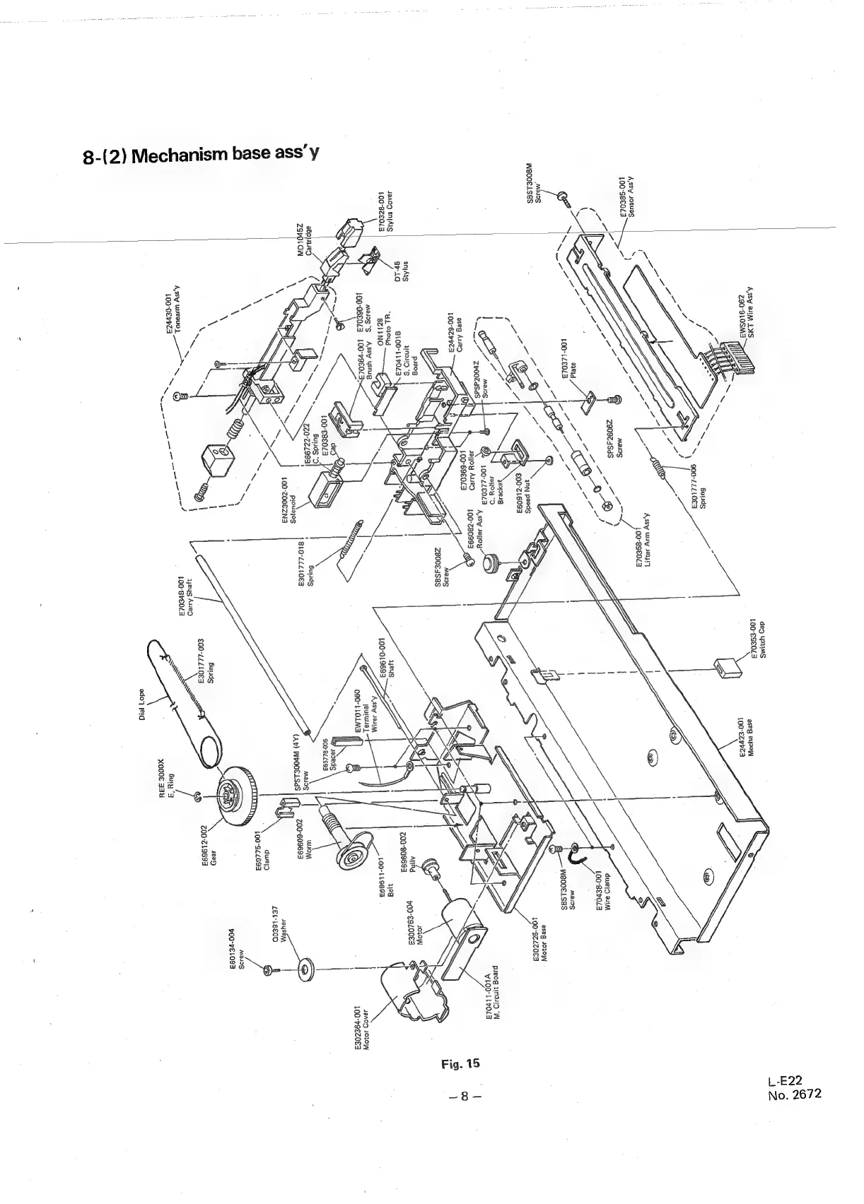
§-(2)
Mechanism
base
ass’y
L-E22
No.
2672
deg
yoUMs
100-£S£0L3
aseg
eydeWN)
100-E7vr24
~
2
Se
Butids
oe
S,,
o9o-cect0ea
g
4
2
S
,
vd
2
.
Assy
wary
Jeu!
100-8S€024
A,ssiy
Josuag
s
100-s8€0L3-—~_
Pe
~~
x
C4
eeey
a
wn
2
a“
MAIS
290924SdS
a
ee
a
7
:
7
in
«
areld
Ye
~N
a“
a
x
ae
a
NU?
100-1203
be
ie
2
M29
wsooeLsas
7
a
¥
a
i
\Fany
'
It:
ea
ge
oa
Mad
2
22108
"DO
6B
\~
8
LOO-LLEDLA
4
oo
sati0y
Y-~
zvoozasds
1
|
;
4a|joy
Ase
100-28099:
100-6920/3
ones
or
due|d
21M
L00-8£v023
aseg
J0
0
L00-SZZ20E3
pske0g
HNI!D
‘IN
VLOO-LLvOLa
aseg
Aued
100-62rv73
Fig.
15
pieog
|
ai
we
Nee
a
g
gL00-LLPOZ3
mika
:
we
too
seen
“aL
ovoud
200-809698
y00-€9L0084
;
a
100
019693
128d
mag
’s
Assy
usd
Fervees
100-06£043
100-p9E023>
eH
L
Jendg
1010;
100-p9Eezoea
090-LLOLM3
(
.
sa0edg
$00-842593
Malas
|
wWOM
(Ab)
NPOOELSAS
Z00-609693
saysem
a6p
ZSvOLOW
prouajos
a
100-Z00EZN3
“N
N
\
\
2
LE1-L6E00
_
Re
.
dweid
a
100-S£693
sy
\
&
\
Masa
\
Q
\
Cait)
00-6
L093
Ne
S
yp
\
Burads
4eaQ)
ce
\
COO-LLLIOES
Z00-219693
asvywirovor
~~
&
oe
ions
\
Lo0-08reZa
ee
gies
ss
veo
>
Bury
"3
xo00e
344
ado7
1810

Related product manuals