EasyManua.ls Logo

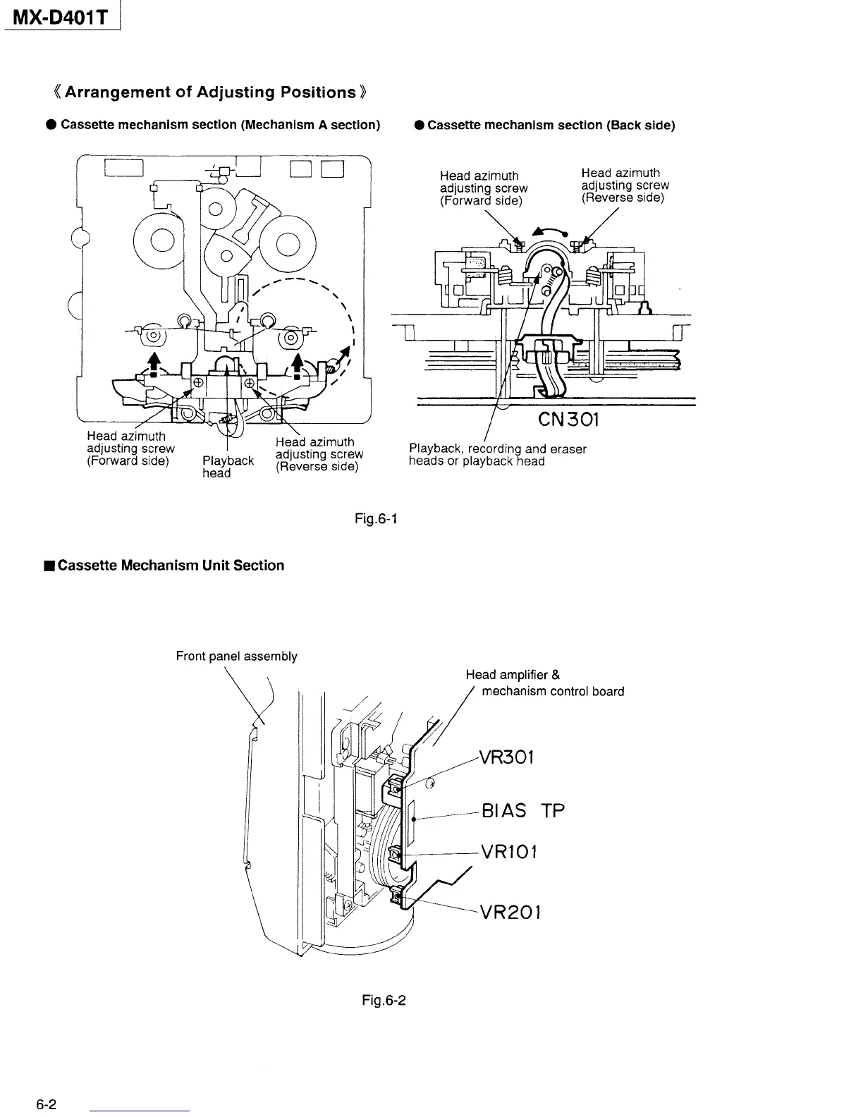
JVC MX-D401T - Arrangement of Adjusting Positions; Cassette Mechanism Unit Section

JVC MX-D401T
130 pages
Print Icon
To Next Page IconTo Next Page
To Next Page IconTo Next Page
To Previous Page IconTo Previous Page
To Previous Page IconTo Previous Page
Loading...

Table of Contents

Related product manuals