EasyManua.ls Logo

JVC MX-G75VUN - Playing Video Cds with PBC Function - Menu Play; Basic Concept of the PBC Function

JVC MX-G75VUN
54 pages
Print Icon
To Next Page IconTo Next Page
To Next Page IconTo Next Page
To Previous Page IconTo Previous Page
To Previous Page IconTo Previous Page
Loading...
– 18 –
English
Playing Video CDs with PBC Function — Menu
Play
This System provides Playback Control (PBC) which utilizes
a procedure (menu selection) programmed in a video CD.
The playback operation procedure may differ depending on
the disc you use.
For Menu Play, use the following buttons:
On the unit:
NEXT (¢) ................... for viewing the unshown portion
of the menu
PREV (4).................... for viewing the previously shown
portion of the menu
CD 3¥8 SELECT.......... for starting playback of the
selected item
RETURN ...................
for going back to the previous menu
VCD NUMBER +, – ...... for selecting an item
On the remote control:
¢ (NEXT) .................. for viewing the unshown portion of
the menu
4 (PREV)................... for viewing the previously shown
portion of the menu
NUMBER BUTTONS ... for selecting and starting playback
of an item
(CD 3¥8) SELECT.......
for starting playback of the selected item
RETURN ................... for going back to the previous menu
1
Turn on the TV and select the video input so that
you can view the pictures from the CD Player.
Refer to the manual supplied for your TV.
2
Prepare a CD.
Refer to “Loading Discs” on page 17.
3
Press PBC on the unit.
Allow several seconds for the discs table of
contents (TOC) to be read before pressing
PBC. “VCD PBC” appears on the display.
4
Start playback of the CD.
Press CD 3¥8 SELECT, to start play of the currently selected
CD, or press CD 1-3, to select the disc and start play.
5
Select the item you want to view.
On the unit:
Turn VCD NUMBER + to select larger item numbers, or
turn VCD NUMBER – to select smaller item number. Then
press CD 3¥8 SELECT, to start the disc. In case VCD
number cannot be selected from the unit, please use the
remote control.
On the remote control:
Press the number buttons to select and play the item you want.
To stop the track being played and return to the menu,
press
RETURN button.
To stop Menu Play, press 7.
NOTE:
You can only select PBC in CD STOP and repeat off position.
Basic Concept of the PBC function
PBC (Playback Control) allows you to enjoy menu–driven operation and high resolution still images having a resolution four
times greater than video pictures.
Menu-driven playback
You can interact with the screen using a menu display to
select and play an entry.
High-resolution still image display
You can display high-quality images four times clearer than
video pictures.
TV Screen
Main menu
1. ......
2. ......
3. ......
1. Sub menu
1. ...... 4. ......
2. ......
3. ......
2. Still Picture
Playback
3. Sub menu
1. ......
2. ......
3. ......
3. Sub menu
4. ......
5. ......
6. ......
1. Sub-sub menu
1. ......
2. ......
3. ......
2. Still Picture
Playback
3. Moving
Pictures
4. Moving
Pictures
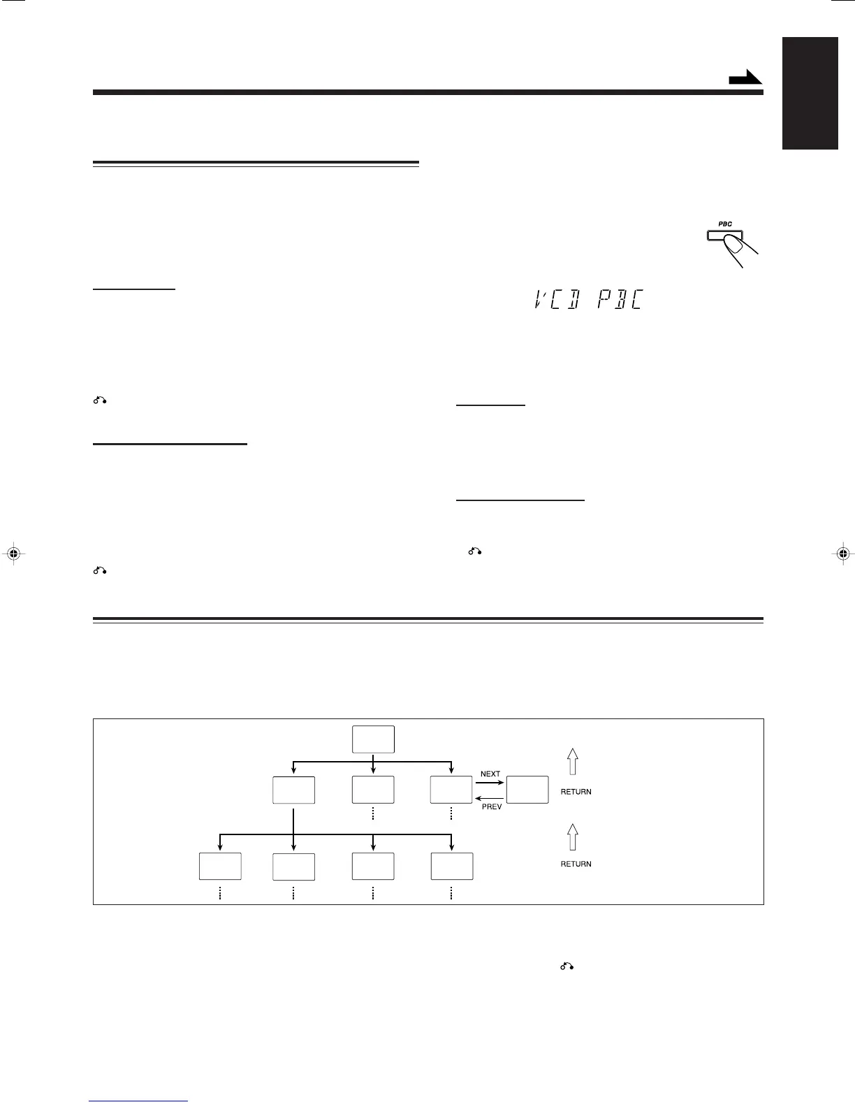
Concept of PBC Flow
Basic flow of Menu Play Operation
A selection menu is shown when you start playing a video CD
with PBC. The menu shows a list of items to select. Some discs
may show moving pictures or a divided screen.
When a list of items appears, you can select the number of
the item you want to playback.
When moving pictures appear, you can select a moving picture
by pressing 4 PREV / ¢ NEXT or number buttons while
the moving picture you want to view is being played back.
When the menu appears after the item you have selected
finishes playing, you can select another item that you want
to view next.
After playback, press
RETURN, to go back to the previous
screen. Each time you press the button, you will go back by
one screen.
If you want to stop Menu Play, press 7.
Continued
EN13-21.CA-MXGT95/85/75[US,UY]2 31/07/2001, 10:36 am18

Table of Contents

Related product manuals