EasyManua.ls Logo

JVC MX-G880V - Page 118

JVC MX-G880V
171 pages
Print Icon
To Next Page IconTo Next Page
To Next Page IconTo Next Page
To Previous Page IconTo Previous Page
To Previous Page IconTo Previous Page
Loading...
4-7
MX-G950V/MX-G880V
MX-G850V/MX-G750V
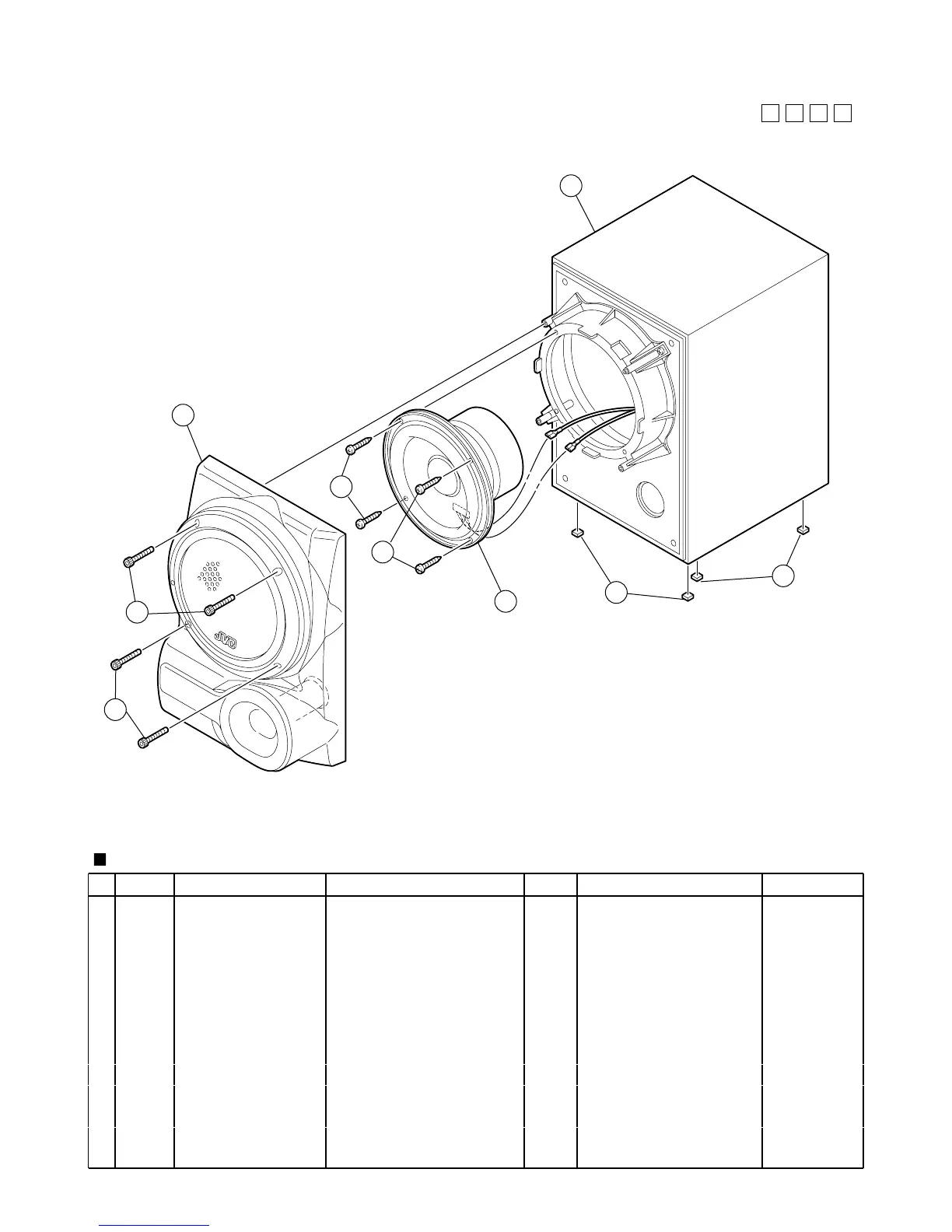
Speaker assembly and parts list
Block No.
M
M
M
8
SP-WG880V
SP-WG850V
Item
Parts number Parts name Area
A
Parts list (Speaker assembly) SP-WG880V/WG850V
Q'ty
Description
Block No. M8MM
A MXG850K-SPKSB-L
SP BOX ASSY(L)
1
SP-WG850V
MXG850K-SPKSB-R
SP BOX ASSY(R)
1
SP-WG850V
MXG880K-SPKSB-R
SP BOX ASSY(R)
1
SP-WG880V
MXG880K-SPKSB-L
SP BOX ASSY(L)
1
SP-WG880V
1 199733350154
FRONT PANEL(L)
1
SP-WG850V
199733350153
FRONT PANEL(R)
1
SP-WG850V
199733350160
FRONT PANEL(L)
1
SP-WG880V
199733350161
FRONT PANEL(R)
1
SP-WG880V
2 135604161053
SCREW
8
3 991061650051
16CM SUBWOOFER
2
4 135604161047
SCREW
8
5 147780071049
LEG CUSHION
8
6 ---------------
CABINET ASSY
2
6
1
3
5
4
2
5
4
2

Table of Contents

Related product manuals