EasyManua.ls Logo

JVC MX-J270V - Basic Menu Play Operation Flow; Playing VCDs Without Menu Screen

JVC MX-J270V
61 pages
Print Icon
To Next Page IconTo Next Page
To Next Page IconTo Next Page
To Previous Page IconTo Previous Page
To Previous Page IconTo Previous Page
Loading...
MX-J270V
1-23
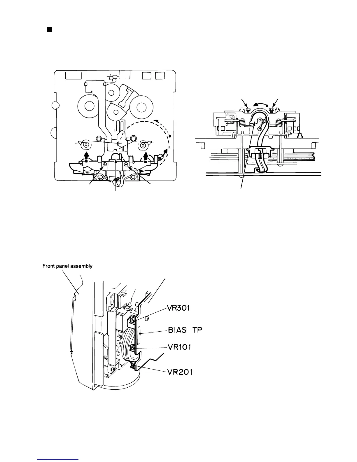
Arrangement of Adjusting Positions
Cassette mechanism section (Mechanism A section)
Cassette mechanism section (Back side)
Cassette Mechanism Unit Section
Head azimuth
adjusting screw
(Forward side)
Head azimuth
adjusting screw
(Reverse side)
Head azimuth
adjusting screw
(Forward side)
Head azimuth
adjusting screw
(Reverse side)
Playback
head
Playback,recording and eraser
heads or playback head
Tape speed ADJ
Bias ADJ L
Bias ADJ R
Head amplifier
mechanism control board

Other manuals for JVC MX-J270V

Related product manuals