EasyManua.ls Logo

JVC MX-J270V - Mains (AC) Line Connection Instructions

JVC MX-J270V
61 pages
Print Icon
To Next Page IconTo Next Page
To Next Page IconTo Next Page
To Previous Page IconTo Previous Page
To Previous Page IconTo Previous Page
Loading...
MX-J270V
1-36
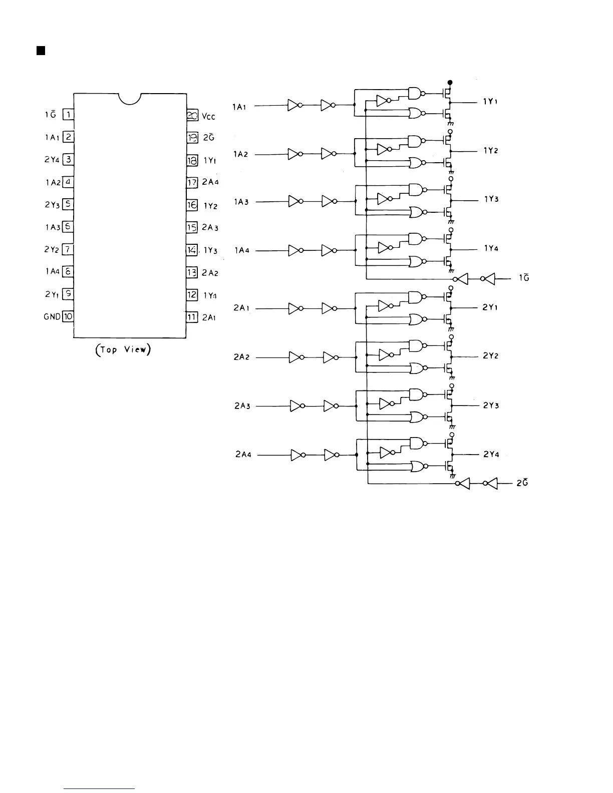
HD74HCT244 (IC113) : Buffer
1. Terminal layout
2. Block diagram

Other manuals for JVC MX-J270V

Related product manuals