EasyManua.ls Logo

JVC MX-J300 - Common Operations; Setting the Clock

JVC MX-J300
79 pages
To Next Page IconTo Next Page
To Next Page IconTo Next Page
To Previous Page IconTo Previous Page
To Previous Page IconTo Previous Page
Loading...
– 11 –
Common Operations
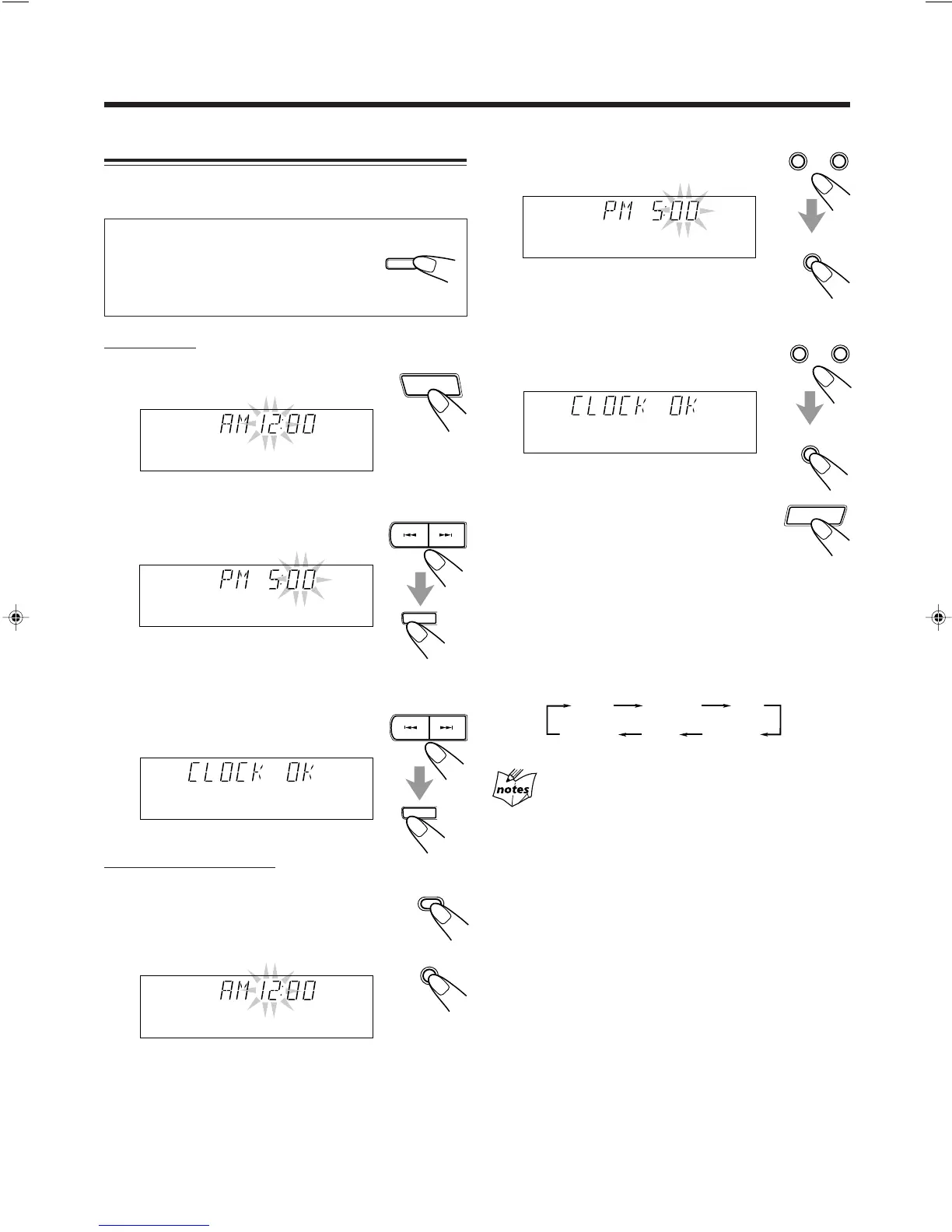
Setting the Clock
Before operating the unit any further, first set the clock built
in this unit.
For MX-J300 only
Press PANEL OPEN/CLOSE .
The unit is turned on and the Powered
Rolling Panel opens automatically.
On the unit:
1
Press CLOCK/TIMER.
The hour digits start flashing on the display.
2
Press 4 or ¢ to adjust the
hour, then press SET.
If you want to correct the hour after pressing
SET, press CANCEL. The hour digits start
flashing again.
3
Press 4 or ¢ to adjust the
minute, then press SET.
On the remote control:
1
Press SHIFT.
2
Press CLOCK.
The hour digits start flashing on the display.
SET
SET
PANEL OPEN / CLOSE
PRESET
+
PRESET +
ST
RECSOUND MODE
BASS
ST
RECSOUND MODE
BASS
ST
RECSOUND MODE
BASS
CLOCK/TIMER
ST
RECSOUND MODE
BASS
2
Press SELECT – or + to adjust the
hour, then press SET.
If you want to correct the hour after pressing
SET, press CANCEL (on the unit). The hour
digits start flashing again.
3
Press SELECT – or + to adjust the
minute, then press SET.
To check the clock time
Press DISPLAY while playing any source.
Each time you press the button, the source
indication and the clock time alternate on the
display.
To adjust the clock again
If you have adjusted the clock before, you need to press
CLOCK/TIMER repeatedly until the clock setting mode is
selected.
Each time you press the button, the clock/timer setting
modes change as follows:
If there is a power failure
The clock loses the setting and is reset to “AM 12:00.” You need to
set the clock again.
SET
8
DAILY
Canceled
ON TIME
ON TIME
Clock
setting
(The hour digits start flashing.)
REC
DISPLAY
– SELECT +
4
5
ST
RECSOUND MODE
BASS
ST
RECSOUND MODE
BASS
SHIFT
CLOCK
1
SET
8
– SELECT +
4
5
MX-J300/200[J] 01-14 EN 00.4.10, 11:10 AM11

Table of Contents

Other manuals for JVC MX-J300

Related product manuals