EasyManua.ls Logo

JVC MX-KC58 - Page 81

JVC MX-KC58
134 pages
Print Icon
To Next Page IconTo Next Page
To Next Page IconTo Next Page
To Previous Page IconTo Previous Page
To Previous Page IconTo Previous Page
Loading...
8
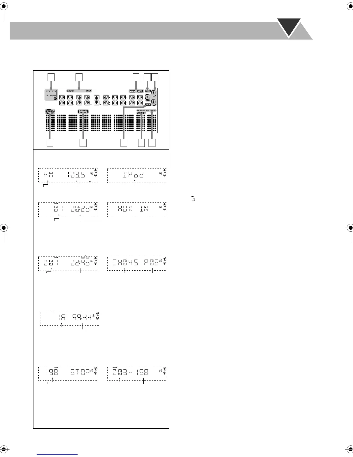
The indications on the display teach you a lot of things while you are operating the System.
Before operating the System, be familiar with when and how the indicator illuminates on the display.
1 Timer indicators
DAILY: Lights when Daily Timer stands by; flashes
while working.
SLEEP: Lights when Sleep Timer is activated.
2 TRACK/GROUP mode indicators
•TRACK: Lights when disc (CD, MP3 disc, WMA disc)
is detected.
GROUP: Lights when programming group in MP3/
WMA mode.
3 MP3/WMA indicators
MP3: Lights when MP3 file is detected.
WMA: Lights when WMA file is detected.
4 Play mode indicator
PRGM (program): Lights when Program Play mode is
activated.
5 Disc tray indicators
1-3: Disc tray number.
( ): Tray indicator
Lights when the disc is detected.
Blinking while playing back a disc.
Goes off when there is no disc in the tray.
6 SOUND TURBO indicator
Lights when the SOUND TURBO is activated (see
page 16).
7 SOUND MODE indicator
Lights when the SOUND MODE is activated (see
page 16).
8 Play mode indicator
RNDM (random): Lights when Random Play mode is
activated.
9 FM reception indicators
MONO: Lights while the FM monaural mode is
activated.
ST (stereo): Lights while an FM stereo station with
sufficient signal strength tuned in.
p Play mode/Search mode indicators
REPEAT: Lights when Repeat mode is activated (see
page 23).
1: Repeats the one track.
1DISC: Repeats the one disc.
ALL: Repeats all the discs.
ALL: Lights when ALL SRCH (All Search) is selected
for XM Satellite Radio.
12 345
76 8910
While listening to radio:
Band Frequency
While listening to iPod
Track number
Elapsed playing time
While disc play is stopped:
Total track
number
Total playing
time
Current track
number
Elapsed
playing time
CD:
MP3/WMA:
While playing a CD:
Source name
* When you start playing an MP3 disc, the group number,
track number, track name, (and ID3 Tag) will be shown
before the elapsed playing time appears.
Indications on the main display
While selecting AUX:
While playing an MP3*/WMA:
Total track number Total group
number
Total track
number
When RESUME is ON,
RESUME is shown on the
display.
MP3/WMA indicator lights accordingly
While listening to XM
Satellite Radio:
In “TRACK” mode: In “GROUP” mode:
Channel
number
Preset
number
MX-KC58[UJ]_EN.book Page 8 Wednesday, March 14, 2007 1:42 PM

Table of Contents

Related product manuals