EasyManua.ls Logo

JVC MX-S6MD - Page 15

JVC MX-S6MD
70 pages
Print Icon
To Next Page IconTo Next Page
To Next Page IconTo Next Page
To Previous Page IconTo Previous Page
To Previous Page IconTo Previous Page
Loading...
MX-S6MD
1-15
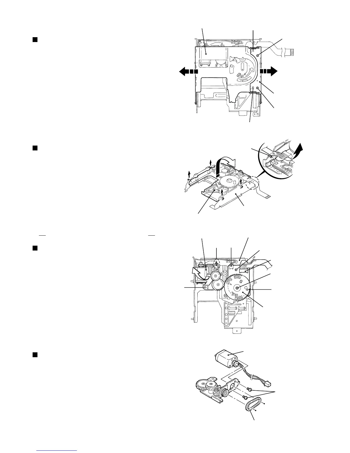
Remove the two screws E on the upper side of the
loading assembly.
Remove the slide base (L) outward. (Release it from
the joint bosses E.)
Remove the slide base (R) outward.
1.
2.
3.
Removing the slide base (L) / (R)
(See Fig.10)
Detach the loading mechanism assembly upward to
release the four pins on both sides from the loading
motor, paying attention to the part e of the loading
mechanism base.
1.
Removing the loading mechanism
assembly (See Fig.11)
Disconnect the harnesses from the wire holder and
from connector CN612 on the cam switch board.
Remove the screw F attaching the loading motor
and release the joint f.
Remove the belt from the loading motor assembly.
Remove the two screws G attaching the loading
motor.
1.
2.
3.
4.
Removing the loading motor
(See Fig.12 and 13)
Loading mechanism assembly
Remove the slit washer attaching the cam gear and
pull out the cam gear.
Disconnect the harness from the wire holder and
from connector CN612 on the cam switch board.
Remove the two screws H and the clamp. Remove
the cam switch board.
1.
2.
3.
Removing the cam gear and the cam
switch board (See Fig.12)
<Loading assembly>
Fig.10
Fig.11
Fig.12
Fig.13
E'
E'
E
E
Loading motor assembly
Loading mechanism
assembly
Loading mechanism base
Slide base (R)
Slide base (L)
F
H
H
Joint f
Part e
CN612
Slit washer
Cam gear
Loading motor
Cam switch board
Wire holder
Belt
G

Related product manuals