EasyManua.ls Logo

JVC UX-H100

JVC UX-H100
26 pages
To Next Page IconTo Next Page
To Next Page IconTo Next Page
To Previous Page IconTo Previous Page
To Previous Page IconTo Previous Page
Loading...
18
You cannot press (recording) in the following cases:
If no cassette is inserted.
If a protected cassette is inserted.
To stop recording for a moment, press *.
The recording is paused, but the CD playback
does not stop.
To resume recording, press * again.
To stop recording, press &/).
The recording stops and the CD playback is
paused.
To remove the cassette, press &/) while
recording is stopped.
Recording Discs
Disc Synchronized Recording
You can start disc play and recording at the same time.
On the unit ONLY:
1
Put a recordable cassette in with the exposed
part of the tape down.
See also page 15.
2
Close the cassette holder gently.
3
Press CD 3/8 to select the CD
player as the source.
4
Press 7 to stop the disc playback.
If you want to start recording from a
particular track, select the beginning track
using UP ¢ or DOWN 4, then go to the
next step.
If you want to make a program, perform steps 2 to 4 on
page 13. After making a program, go to the next step.
5
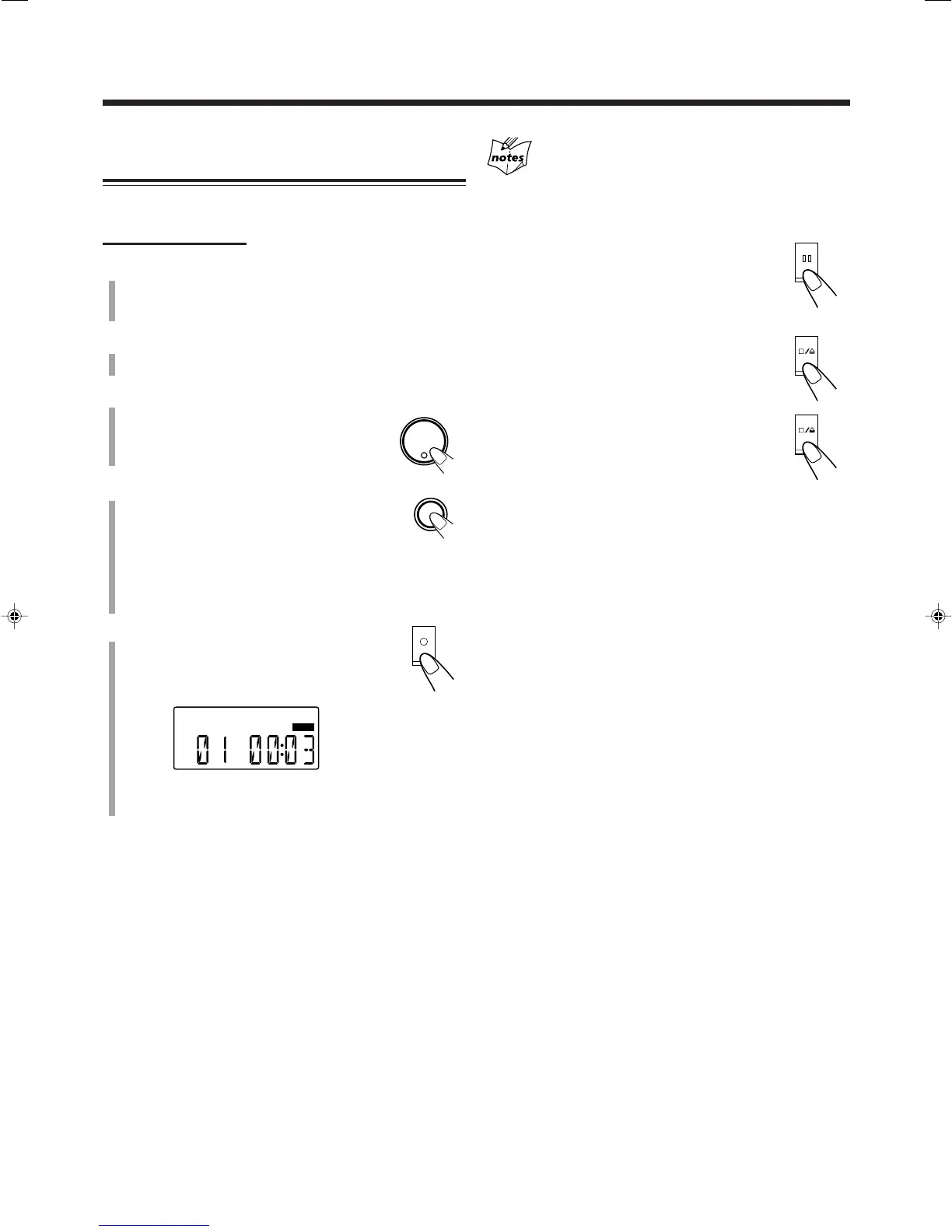
Press (recording).
The REC indicator appears on the display and
the CD starts playback automatically and the
recording starts.
When the end of the tape is reached, recording stops and
the CD player is paused.
If you press (recording) while playing back the CD, the
CD player returns to the beginning of that track and the
track is recorded on the tape.
REC
CD
#/8
7
17-18_UX-H100[B].p65 04.2.24, 5:56 PM18

Other manuals for JVC UX-H100

Related product manuals