EasyManua.ls Logo

JVC UX-H100 - Repeating Tracks-Repeat Play; Playing at Random-Random Play; Displaying the Remaining Time During Playback

JVC UX-H100
26 pages
Print Icon
To Next Page IconTo Next Page
To Next Page IconTo Next Page
To Previous Page IconTo Previous Page
To Previous Page IconTo Previous Page
Loading...
14
Playing at RandomRandom Play
You can play the tracks at random.
On the remote control ONLY:
Press PLAY MODE during playing.
The RANDOM indicator lights up on the display.
To exit from Random Play, press PLAY MODE
again.
The RANDOM indicator goes off.
It is not possible to activate the Random Play function
during Program Play.
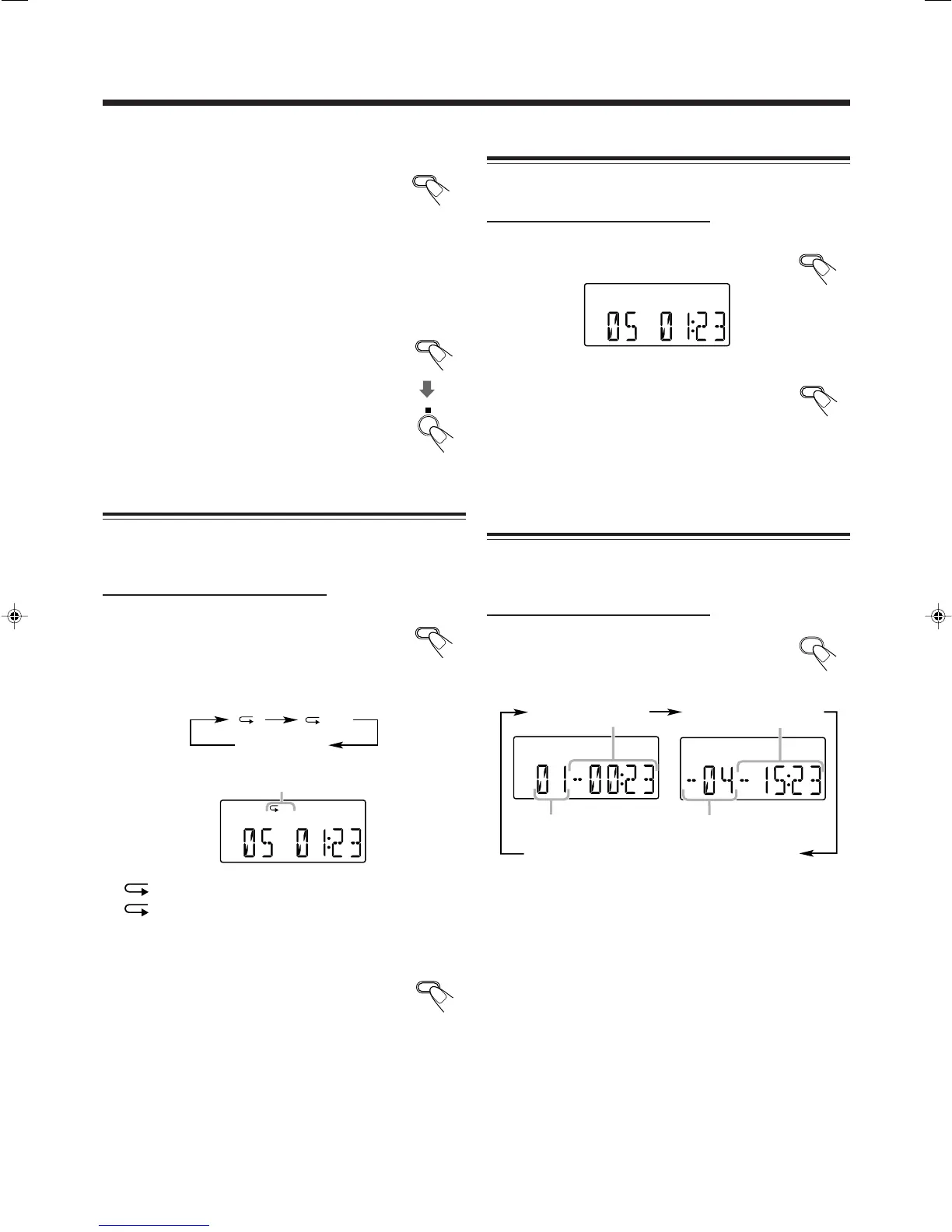
Displaying the Remaining Time during
Playback
You can display the remaining time of the current track/disc
and the elapsed time of the current track/disc during playing.
On the remote control ONLY:
Press REMAIN repeatedly.
Each time you press the button, the display
changes as follows:
* Remaining time of the disc will not be displayed in the
following cases:
During MP3 playback.
During Random Play.
During Program Play.
To modify the program
Press PLAY MODE repeatedly until the program
step number you want to modify appears. Then
follow steps
3
and
4
of the programming procedure.
To add tracks in the program, press PLAY MODE
repeatedly until 00 appears as the track number. Then
follow steps
3
and
4
of the programming procedure.
To clear the program
Press PLAY MODE, then press 7 before or after
playback.
The PRGM indicator disappears from the display.
The programmed tracks are also erased in the
following cases:
When pressing 0 OPEN to open the disc cover.
When turning off the unit.
When changing the source.
Repeating TracksRepeat Play
You can have all the tracks, the program or individual track
currently playing, repeat as many times as you like.
On the remote control ONLY:
Press REPEAT repeatedly before or
during playback.
Each time you press the button, Repeat Play
changes as follows, and the following repeat indicator
lights up on the display:
: Repeats one track.
ALL: In Normal Play, repeats all the tracks.
In Program Play, repeats all the tracks in the
program.
To cancel Repeat Play, press REPEAT repeatedly
until the repeat indicator goes off.
Repeat Play is canceled when you select another
play mode (Normal, Program, or Random Play).
In Random Play, Repeat Play cannot be selected.
REPEAT
ALL
Repeat indicators
ALL
REMAIN
PLAY
MODE
REPEAT
PLAY
MODE
RANDOM
PLAY
MODE
PLAY
MODE
Canceled
Remaining time of
the current track
* Remaining time of
the disc
Elapsed time of the current track
(normal indication)
Current track number Remaining tracks number
12-14_UX-H100[B].p65 04.2.24, 5:56 PM14

Other manuals for JVC UX-H100

Related product manuals