EasyManua.ls Logo

KAESER TF 171E - Page 14

KAESER TF 171E
20 pages
Print Icon
To Next Page IconTo Next Page
To Next Page IconTo Next Page
To Previous Page IconTo Previous Page
To Previous Page IconTo Previous Page
Loading...
14
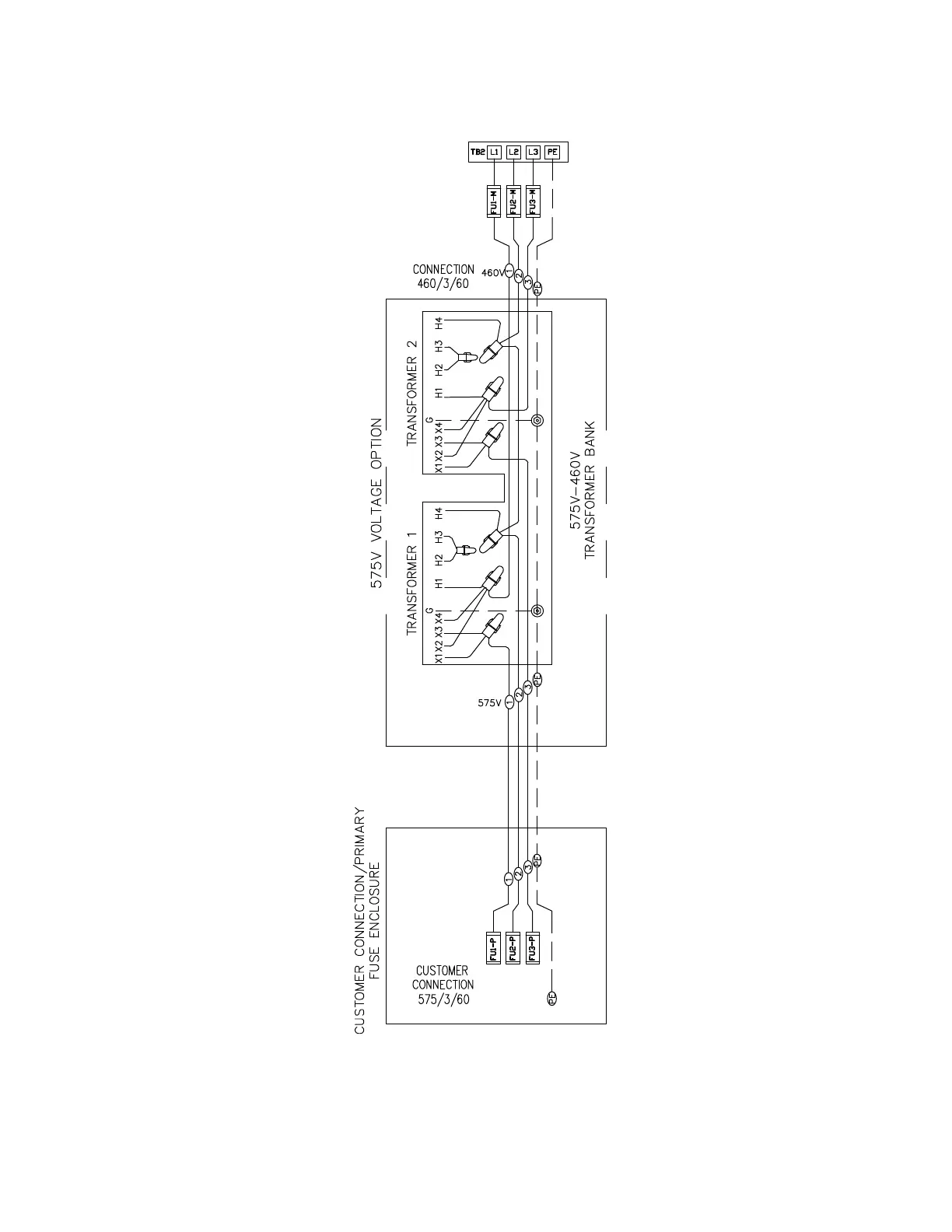
WIRING DIAGRAM
575-460/3/60 Transformer Pack

Related product manuals