EasyManua.ls Logo

Kawai CS8 - SP Box Parts 2 of 2

Kawai CS8
35 pages
Print Icon
To Next Page IconTo Next Page
To Next Page IconTo Next Page
To Previous Page IconTo Previous Page
To Previous Page IconTo Previous Page
Loading...
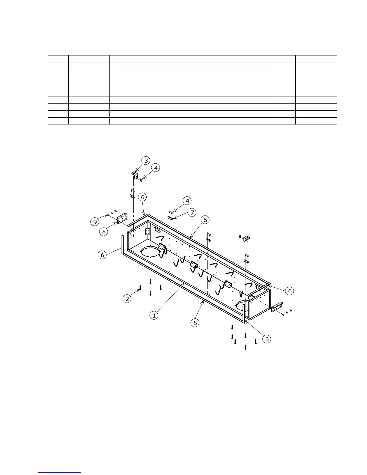
P18 SP Box Parts 2 of 2
CS8
No.
Qty
1
10
2
12
2
4
4
2
6
926820
SP BOX FITTING
797022
+Truss Self Tapping Screw Type A 4mm*12mm WHC or BKC
Parts Code
Parts Name
Remarks
954777
SP BOX WOODEN ASSY
NEW
798908
TWIST NECK MACHINE SCREW M4*30 BKC
797285
+Truss Self Tapping Screw Type A 4mm*12mm BKC
814637
SPEAKER BOX CUSHION(4)
948914
KEY BED CUSHION
949667
L FITTING 18*40*90
814634
SPEAKER BOX CUSHION(1)

Related product manuals