EasyManua.ls Logo

Keithley 617 - Page 40

Keithley 617
55 pages
Print Icon
To Next Page IconTo Next Page
To Next Page IconTo Next Page
To Previous Page IconTo Previous Page
To Previous Page IconTo Previous Page
Loading...
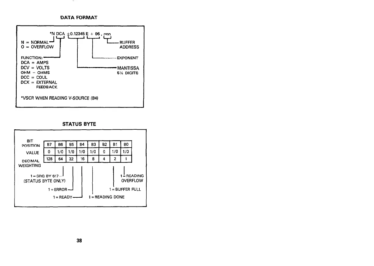
DATA FORMAT
DCV = VOLTS
OHM = OHMS
5% DIGITS
DCC = COUL
DCX = EXTERNAL
FEEDBACK
l VSCR WHEN READING V-SOURCE 184)
STATUS BYTE
DECIMAL
128 64 32 16 8 4 2 1
1 = ERROR -1
-I
I= BUFFER FULL
1 = READY
1 = READING DONE
38
Artisan Technology Group - Quality Instrumentation ... Guaranteed | (888) 88-SOURCE | www.artisantg.com

Other manuals for Keithley 617

Related product manuals