EasyManua.ls Logo

Kenmore 795.71043.01 - Parts Identification; Internal Parts Diagram; Part Labels

Kenmore 795.71043.01
66 pages
Print Icon
To Next Page IconTo Next Page
To Next Page IconTo Next Page
To Previous Page IconTo Previous Page
To Previous Page IconTo Previous Page
Loading...
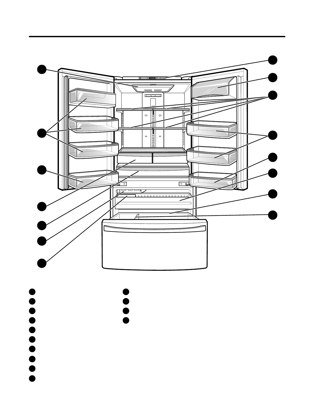
2. PARTS IDENTIFICATION
- 5 -
A
C
D
H
I
G
J
N
F
C
E
K
L
M
B
Refrigerator Light
A
Cover Assembly, Display
B
Modular Door Bins
C
Fixed Door Bin
D
Fixed Door Bin
E
Refrigerator Shelves
F
Automatic Icemaker
G
Pullout Drawer
K
Durabase
L
Divider
M
Dairy Bin
N
Humidity Controlled Crisper
H
Pantry Drawer
I
Ice Bin
J

Related product manuals