EasyManua.ls Logo

KitchenAid KBNU367TSS - Wiring Diagrams; S Style Model Wiring Diagram

KitchenAid KBNU367TSS
68 pages
Print Icon
To Next Page IconTo Next Page
To Next Page IconTo Next Page
To Previous Page IconTo Previous Page
To Previous Page IconTo Previous Page
Loading...
5-1
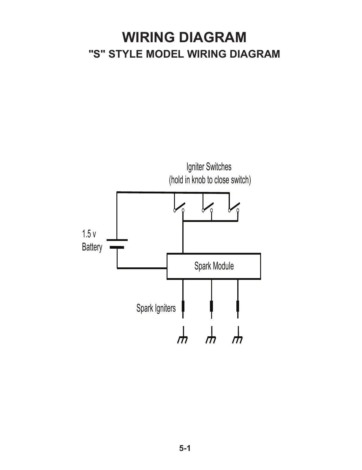
WIRING DIAGRAM
"S" STYLE MODEL WIRING DIAGRAM
1.5 v
Battery
Spark Module
Igniter Switches
(hold in knob to close switch)
Spark Igniters
All manuals and user guides at all-guides.com

Other manuals for KitchenAid KBNU367TSS

Related product manuals