EasyManua.ls Logo

KitchenAid KDRP467KSS07 - Page 8

KitchenAid KDRP467KSS07
10 pages
Print Icon
To Next Page IconTo Next Page
To Next Page IconTo Next Page
To Previous Page IconTo Previous Page
To Previous Page IconTo Previous Page
Loading...
8
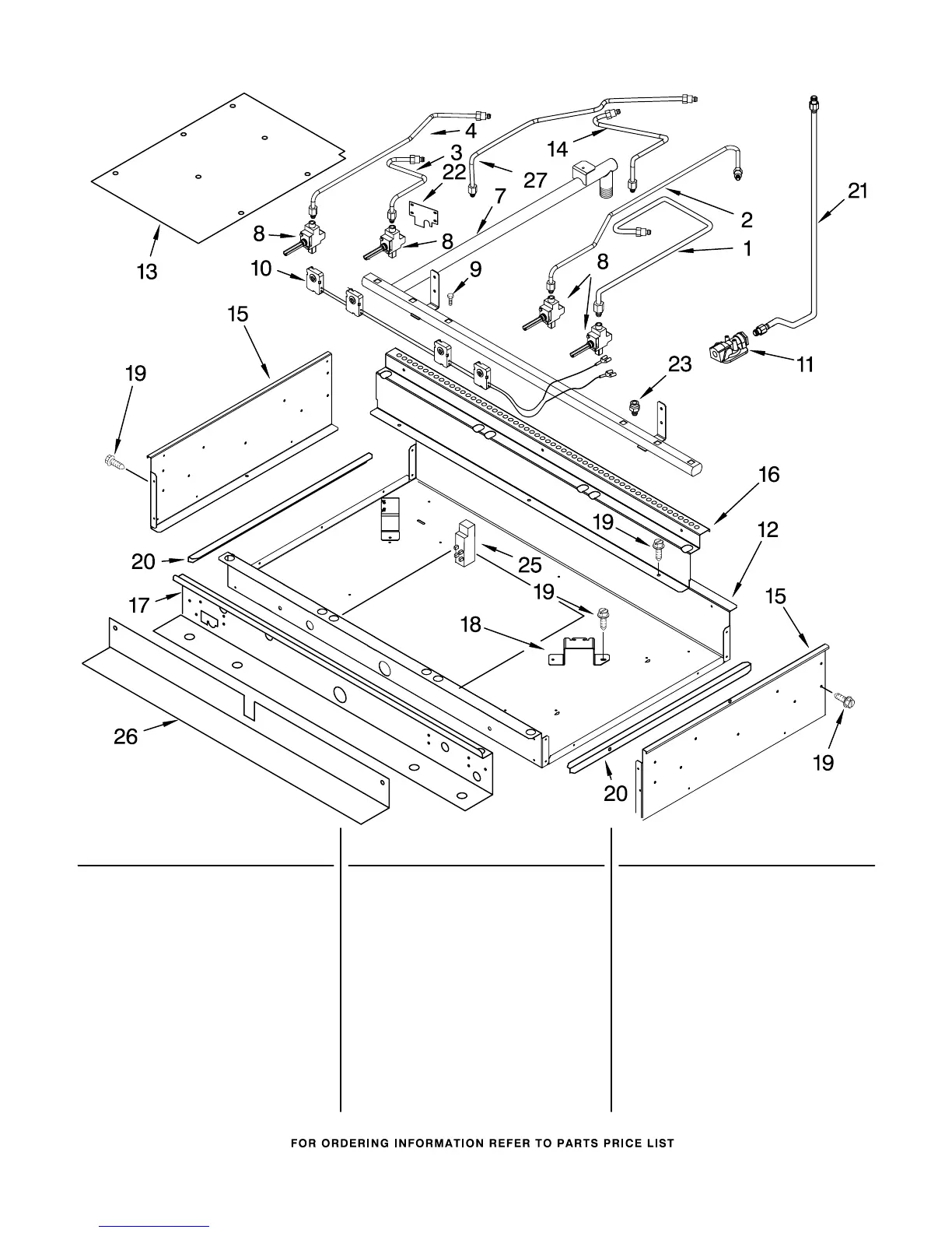
BURNER BOX AND MANIFOLD PARTS
For Model:KDRP467KSS07
(Stainless Steel)
8186194
Illus. Part
No. No. DESCRIPTION
Illus. Part
No. No. DESCRIPTION
Illus. Part
No. No. DESCRIPTION
1 8300231 Tubing, Gas
Burner − RF
2 8300230 Tubing, Gas
Burner − RR
3 8300187 Tubing, Gas
Burner − LF
4 8300188 Tubing, Gas
Burner − LR
7 8301045 Manifold Assembly
Right Side
8 Valve, Burner
4456818 (Bronze)
4456816 (Red)
9 8523704 Bolt, Gas Valve
10 4456903 Burner Switch &
Harness Assembly
3191387 Seal, Switch
11 4453033 Pressure Regulator
12 4457091 Box, Burner
13 8284964 Plate, Burner
Holder
14 8300229 Tubing, Gas
Burner − CF
15 Side, Burner Box
8285607 Right Side
8285606 Left Side
16 4457337 Support, Rear
17 4455925 Support, Cooktop
18 3192811 Bracket, Burner
19 3177991 Screw, 8−18 x 1/4
20 4454974 Rail, Support
RH & LH
21 8301252 Tube, Manifold
22 4455922 Cover, Manifold
23 Adapter
4453116 1/2" Female
4453115 1/2" Male
8284796 Plug, Close
4450118 Nut, 6−32 U Type
25 8522427 Module, Spark
26 8300216 Cover
27 8300232 Tubing, Gas
Burner − CR