EasyManua.ls Logo

KitchenAid KSSC36FKB00 - Refrigerator Light; Freezer Light

KitchenAid KSSC36FKB00
76 pages
Print Icon
To Next Page IconTo Next Page
To Next Page IconTo Next Page
To Previous Page IconTo Previous Page
To Previous Page IconTo Previous Page
Loading...
7-5
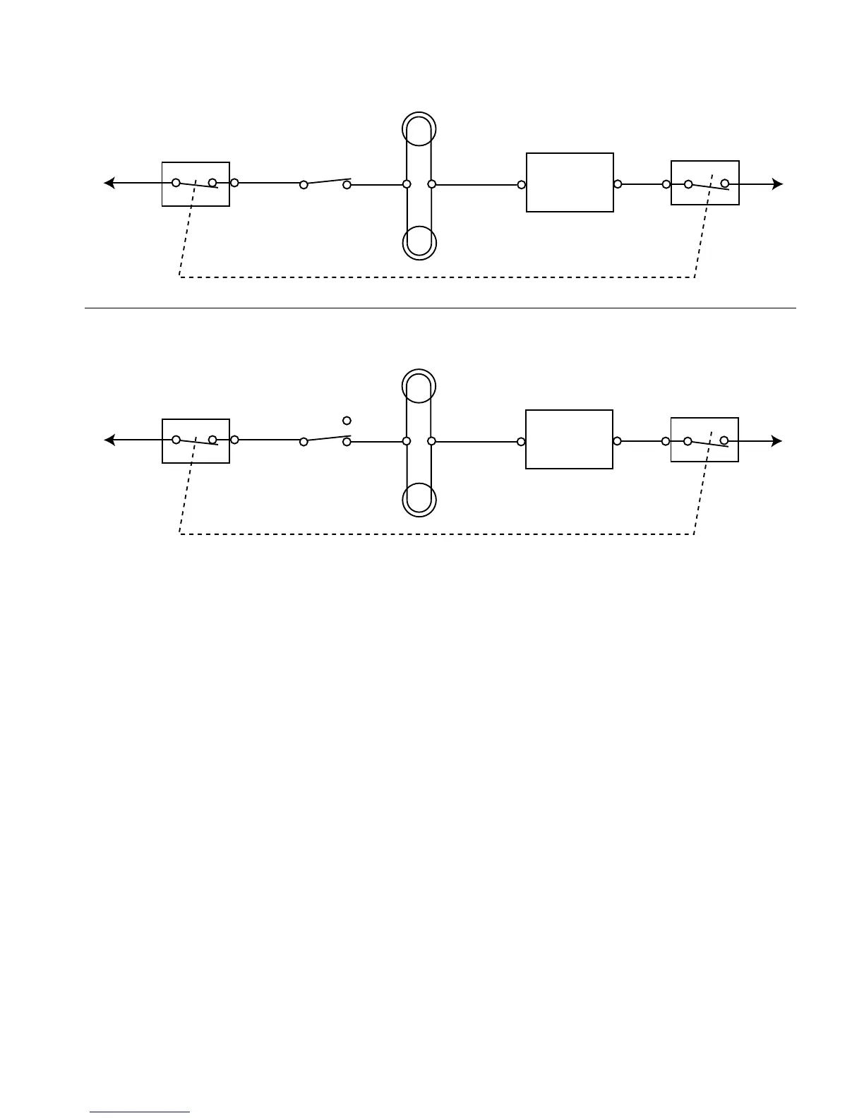
POWER
ON/OFF
POWER
ON/OFF
BK
L1
N
P4-1
WH/TN
DOOR SWITCH
ELECTRONIC
CONTROL
BOARD
POWER
ON/OFF
POWER
ON/OFF
BK
L1
N
P4-2
WH/TN
DOOR SWITCH
ELECTRONIC
CONTROL
BOARD
12
3
REFRIGERATOR LIGHT
FREEZER LIGHT

Other manuals for KitchenAid KSSC36FKB00

Related product manuals