EasyManua.ls Logo

Klarstein VINSIDER 35D - Reversing the Door Swing of Your Appliance

Klarstein VINSIDER 35D
Print Icon
To Next Page IconTo Next Page
To Next Page IconTo Next Page
To Previous Page IconTo Previous Page
To Previous Page IconTo Previous Page
Loading...
30
EN
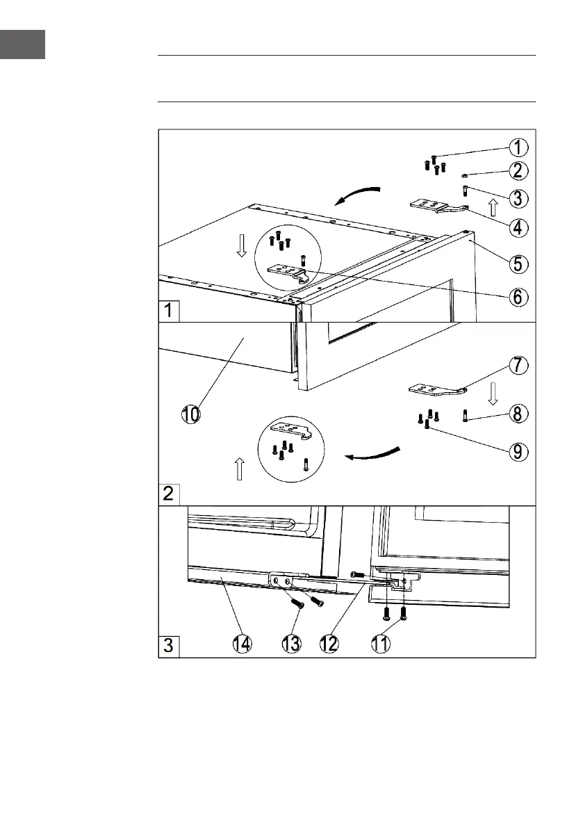
REVERSING THE DOOR SWING OF YOUR
APPLIANCE

Related product manuals