EasyManua.ls Logo

Klarstein VINSIDER 35D - Dirección de Abertura de la Puerta

Klarstein VINSIDER 35D
Print Icon
To Next Page IconTo Next Page
To Next Page IconTo Next Page
To Previous Page IconTo Previous Page
To Previous Page IconTo Previous Page
Loading...
48
ES
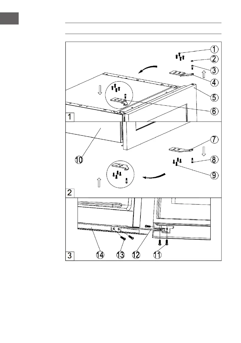
DIRECCIÓN DE ABERTURA DE LA PUERTA

Related product manuals