EasyManua.ls Logo

Klarstein VINSIDER 35D - Intervertir le Sens Douverture de la Porte

Klarstein VINSIDER 35D
Print Icon
To Next Page IconTo Next Page
To Next Page IconTo Next Page
To Previous Page IconTo Previous Page
To Previous Page IconTo Previous Page
Loading...
66
FR
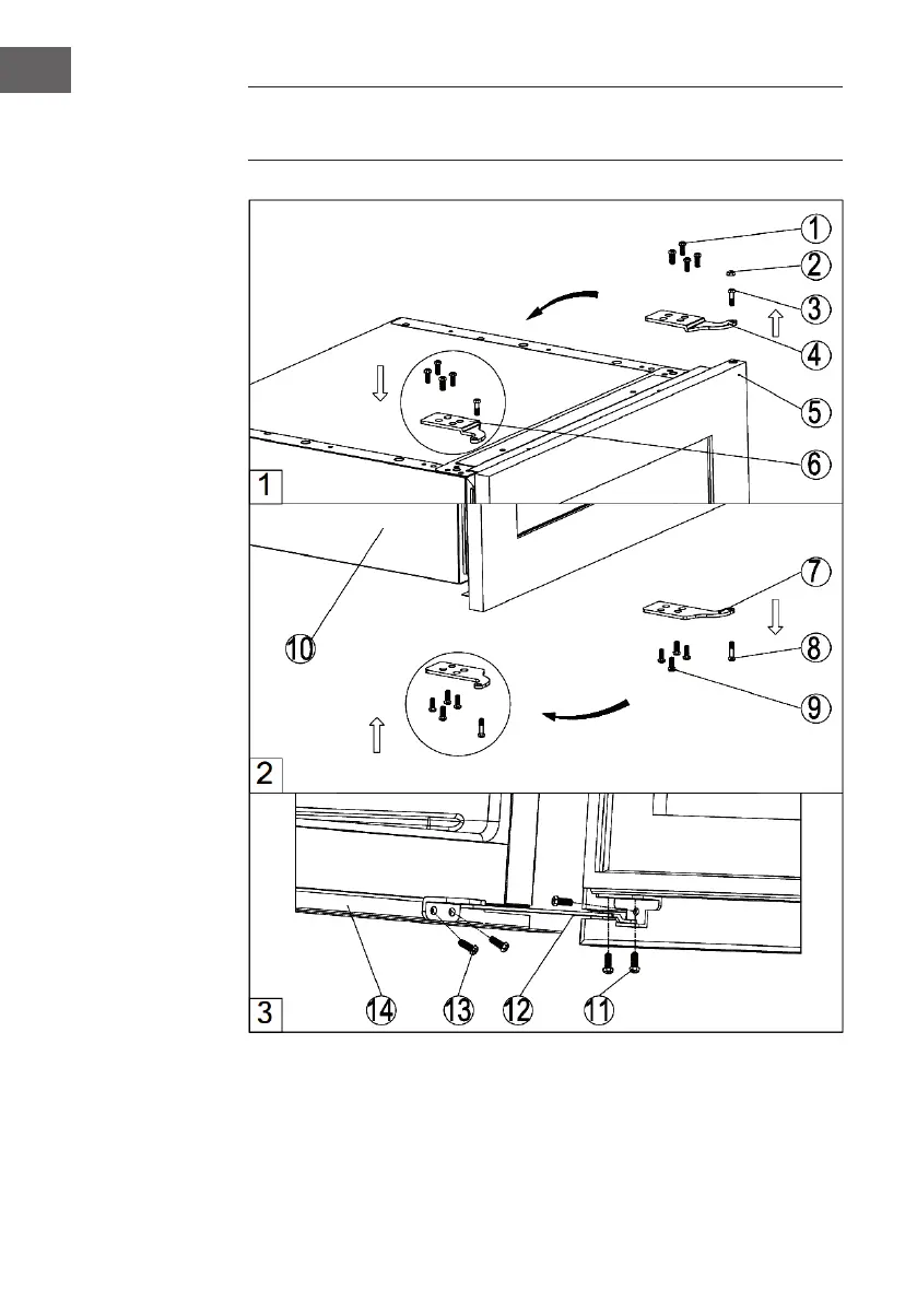
INTERVERTIR LE SENS D’OUVERTURE DE LA
PORTE

Related product manuals