EasyManua.ls Logo

Kobalt 59207 - Bevel Cut; Care and Maintenance

Kobalt 59207
48 pages
Print Icon
To Next Page IconTo Next Page
To Next Page IconTo Next Page
To Previous Page IconTo Previous Page
To Previous Page IconTo Previous Page
Loading...
22
WARNING
WARNING
OPERATING INSTRUCTIONS
CARE AND MAINTENANCE
13
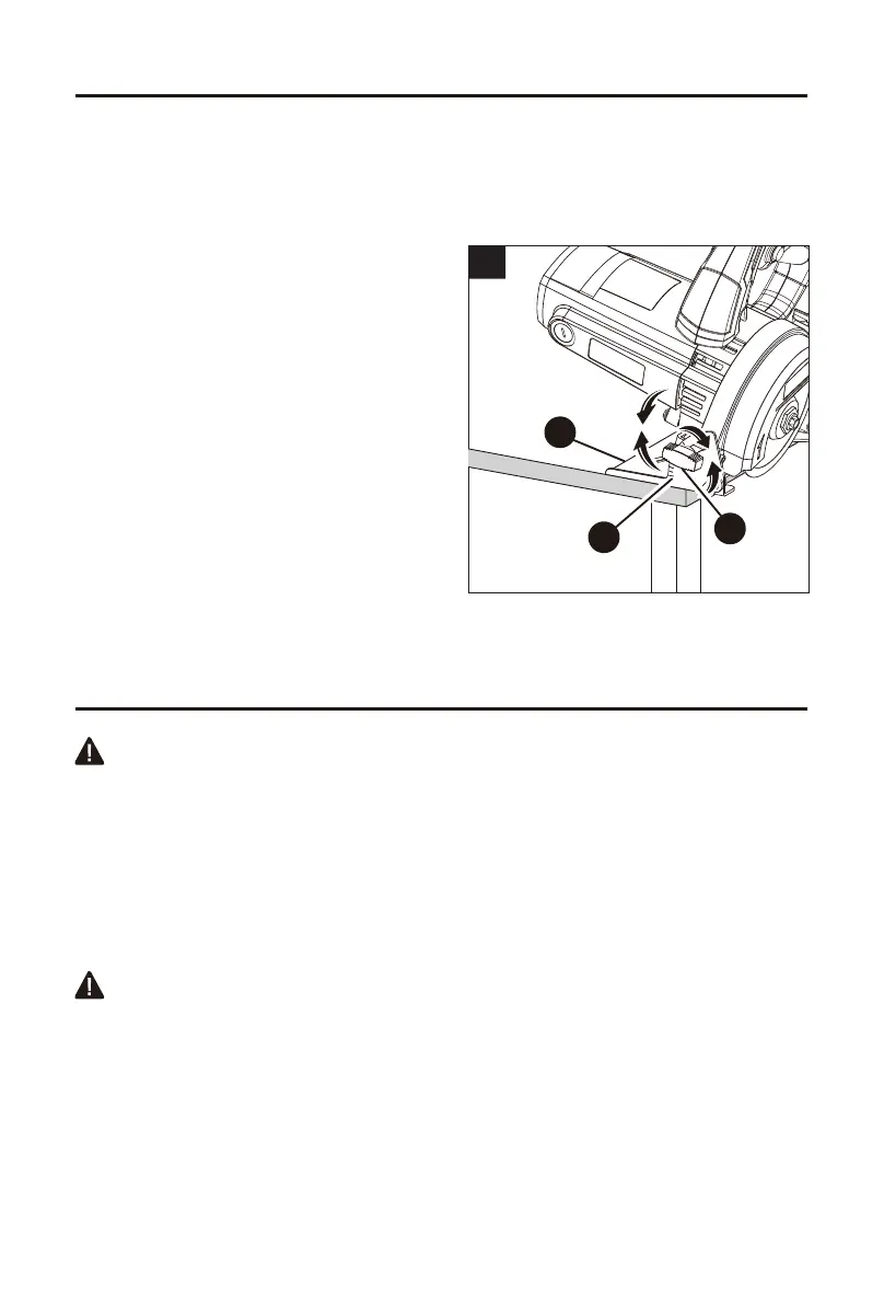
10. To Make A Bevel Cut (Fig 13)
Beveled 45° cuts can be made by adjusting the position of the motor head.
BEVEL CUT
When servicing, use only identical replacement parts. Use of any other parts can create a
hazard or cause product damage.
45
0
1
General Maintenance
Avoid using solvents when cleaning plastic parts. Most plastics are susceptible to damage
from various types of commercial solvents and may be damaged by their use. Use clean
cloths to remove dirt, dust, oil, grease, etc.
Do not at any time let brake fluids, gasoline, petroleum-based products, penetrating oils, etc.,
come in contact with plastic parts. Chemicals can damage, weaken or destroy plastic which
can result in serious personal injury.
Electric tools used on fiberglass material, wallboard, spackling compounds, or plaster are
subject to accelerated wear and possible premature failure because the fiberglass chips and
grindings are highly abrasive to bearings, brushes, commutators, etc. Consequently, we do
not recommend using this product for extended work on these types of materials. However, if
you do work with any of these materials, it is extremely important to clean the product using
compressed air.
• Using a marker or grease pencil, mark the area to be cut on material.
• Secure the workpiece.
• Loosen the bevel lock knob on the front
of the saw.
• Rotate the base until you reach the desired
angle setting on the bevel scale.
• Tighten the bevel lock knob securely.
• If wet cutting is desired, turn the water
supply valve to start water flow.
• Depress the switch trigger to start the saw.
• Let the cutting wheel build up to full speed
and wait for the wheel to get wet before
moving the wheel into the material.
• When the cut is made, release the switch
trigger. Wait for the cutting wheel to come to
a complete stop before removing the saw
from the material.
• Stop the water flow
V
U
F

Related product manuals