EasyManua.ls Logo

Kobalt KJS 324B-03 - Installing and Removing the Blade

Kobalt KJS 324B-03
32 pages
Print Icon
To Next Page IconTo Next Page
To Next Page IconTo Next Page
To Previous Page IconTo Previous Page
To Previous Page IconTo Previous Page
Loading...
11
OPERATING INSTRUCTIONS
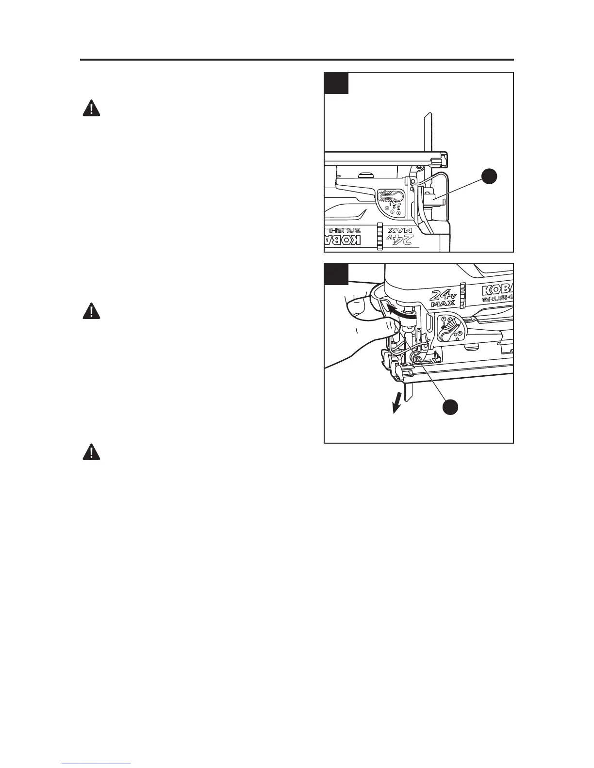
7. Installing and Removing the Blade
WARNING
Battery tools are always in operating condition.
To reduce the risk of injury, always remove the
battery pack before making any adjustments or
changing accessories.
To install the blade
a. Turn the tool upside down.
b. Insert the saw blade (Q) into the blade clamp
(E) as far as possible, with the back of the
blade resting in the groove in the blade roller
guide. The blade clamp will automatically
secure the blade. Make sure that the blade
shank is completely inserted into the blade
clamp.
WARNING
Use only T-shank type jig saw blades. Other
blade types will not be secured in the blade
clamp and will cause personal injury during
operation.
To remove the blade
a. Pivot the blade-release lever (H) to open the
blade clamp.
b. The blade will eject from blade clamp.
WARNING
Do not aim the blade at a person or body when removing the blade as it is ejected from the
blade clamp.
7a
E
7b
H

Related product manuals