EasyManua.ls Logo

Kohler 10CCO - Page 71

Kohler 10CCO
105 pages
Print Icon
To Next Page IconTo Next Page
To Next Page IconTo Next Page
To Previous Page IconTo Previous Page
To Previous Page IconTo Previous Page
Loading...
TP-5594 5/95 Installation 6-15
Generator
End
Generator
End
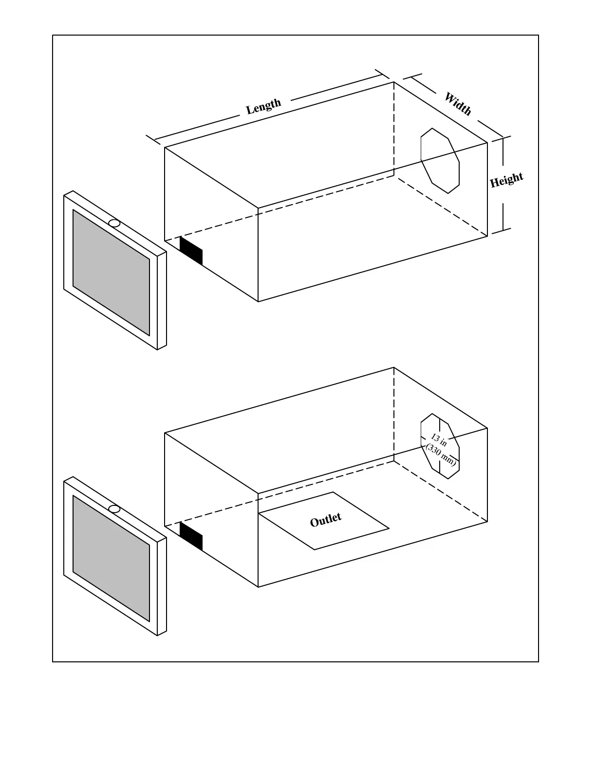
NOTE:
The dimensions shown
are compartment inside
measurements. The
compartment must allow
1 1/2 in.(38 mm) clearance
on all sides of generator.
Compartment Minimum Size in. (mm)
7 kW 10 kW
Length 37.0 (940) 43.0 (1092)
Width 21.0 (533) 23.0 (584)
Height 26.75 (679) 26.75 (679)
Bottom Discharge Outlet in. (mm)
7 kW:
Length: 18.83 (479)
Width: 8.88 (226)
10 kW:
Length: 22.00 (559)
Width: 8.88 (226)
Figure 6-16. Typical Cooling System Installation (Compartment Minimum Sizes) for
Remote Radiator Mounted Outside the Generator Compartment

Table of Contents

Other manuals for Kohler 10CCO

Related product manuals