EasyManua.ls Logo

Kohler K662 - Page 55

Kohler K662
91 pages
To Next Page IconTo Next Page
To Next Page IconTo Next Page
To Previous Page IconTo Previous Page
To Previous Page IconTo Previous Page
Loading...
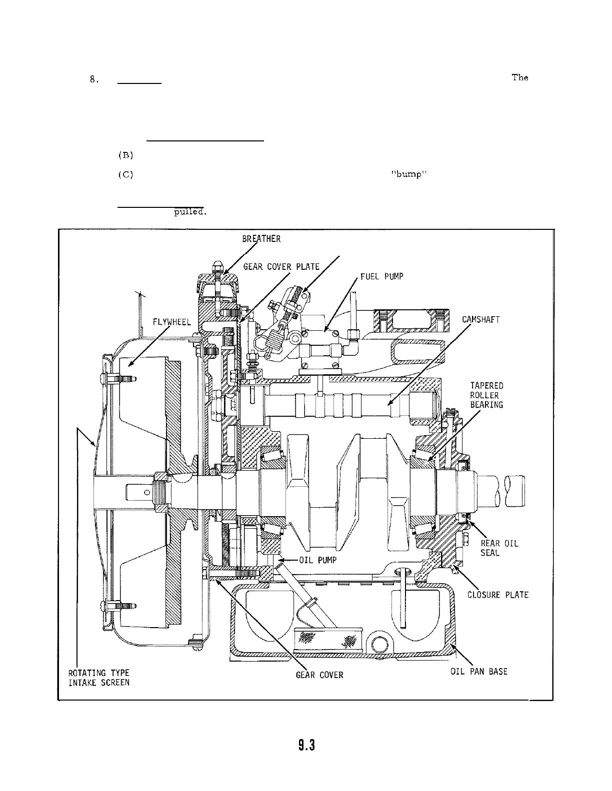
8.
Flywheel:
The flywheel is keyed to and positioned on a taper on the crankshaft.
The fly
-
wheel retaining nut may be secured with either a roll pin
or
setscrew.
Loosen setscrew
with Allen head wrench or drive roll pin out with small punch before attempting to remove
retaining nut.
On some
K482
engines, it will be necessary to partially disassemble Bendix
before the flywheel can be removed.
Use the following procedure to remove flywheel:
(A)
K482
(early models only): Bendix assembly is pinned to the starter shaft
--
drive pin
out, remove nut at end of starter shaft then slip Bendix Assembly off shaft.
(B)
After loosening setscrew or removing roll pin, block and prevent flywheel from turn
-
ing (insert board between cooling fins an flywheel) then remove retaining nut.
(C)
Use puller to remove flywheel from shaft
-
-
Do not "bump" to remove as this may
weaken or break end of crankshaft. Remove key from keyway on crankshaft.
9.
Alternator
-
Stator: On engines so equipped, the alternator
-
stator can be removed after
flywheel
is
pulled.
Remove capscrews securing stator to gear cover and slip stator off.
GOVERNOR
/
FIGURE
9
-
2
--
CROSS SECTIONAL
VIEW,
TYPICAL
K662

Related product manuals