EasyManua.ls Logo

Komatsu D375A-8 - EXPLANATION OF COMPONENTS

Komatsu D375A-8
466 pages
Print Icon
To Next Page IconTo Next Page
To Next Page IconTo Next Page
To Previous Page IconTo Previous Page
To Previous Page IconTo Previous Page
Loading...
EXPLANATION OF COMPONENTS
The following is an explanation of devices necessary to operate the machine.
T
o perform suitable operations correctly and safely, it is important to completely understand methods of operat-
ing the equipment, and the meanings of the displays.
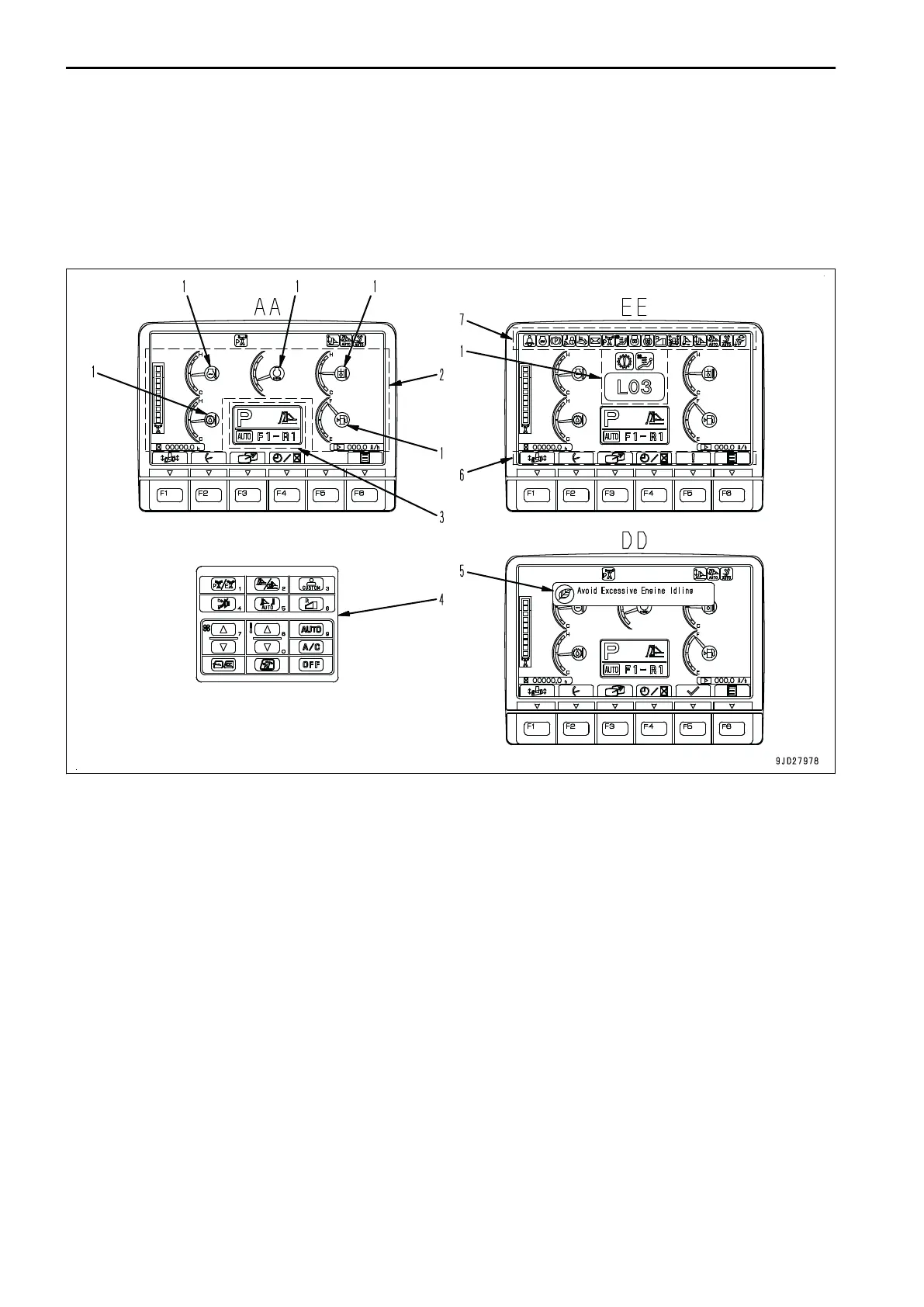
EXPLANATION OF MACHINE MONITOR EQUIPMENT
AA: Standard screen, EE: Warning or Error screen, DD: Guidance screen
(1) Warning display
(2) Meter display
(3) Gear speed display part
(4) Monitor switch area
(5) Guidance display
(6) Guidance icon display
(7) Pilot display
REMARK
If environmental temperature of the machine monitor is high, brightness may be automatically reduced to
protect the liquid crystal.
Intensity or color of the objects may change because of the automatic adjustment function of the camera.
EXPLANATION OF COMPONENTS OPERATION
3-6

Table of Contents

Related product manuals