EasyManua.ls Logo

koppel KV 24CC-ARF21 - Dimensions

koppel KV 24CC-ARF21
144 pages
Print Icon
To Next Page IconTo Next Page
To Next Page IconTo Next Page
To Previous Page IconTo Previous Page
To Previous Page IconTo Previous Page
Loading...
Dimensions
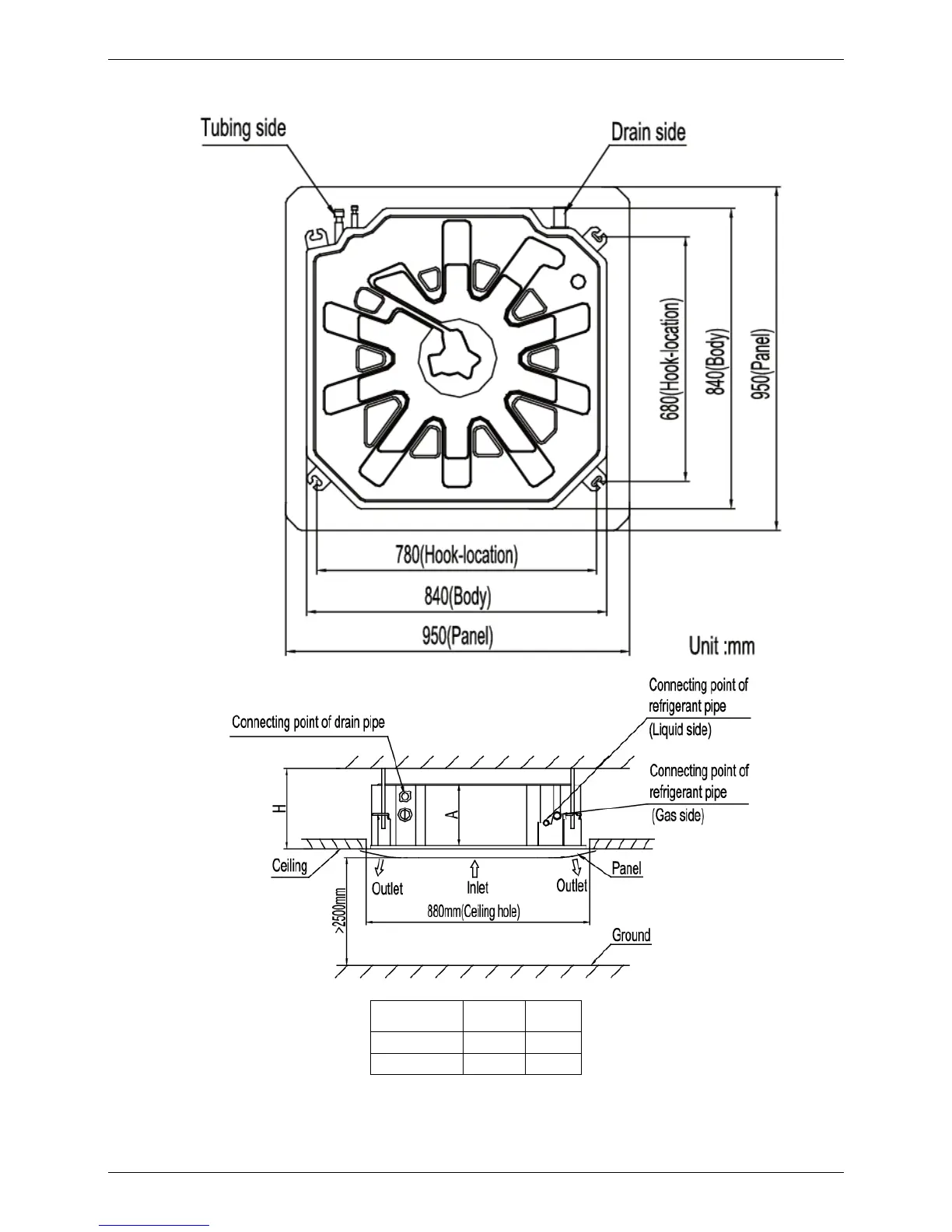
2. Dimensions
Capacity
(Btu/h)
A H
36 245 >275
48 245 >275
25

Table of Contents

Related product manuals