EasyManua.ls Logo

Lambda EMS 600-1.6 - 4 Theory of Operation; Principles of Operation; Input Section; A200 Inverter Board

Default Icon
39 pages
Print Icon
To Next Page IconTo Next Page
To Next Page IconTo Next Page
To Previous Page IconTo Previous Page
To Previous Page IconTo Previous Page
Loading...
4 THEORY OF OPERATION
4.1 PRINCIPLES OF OPERATION
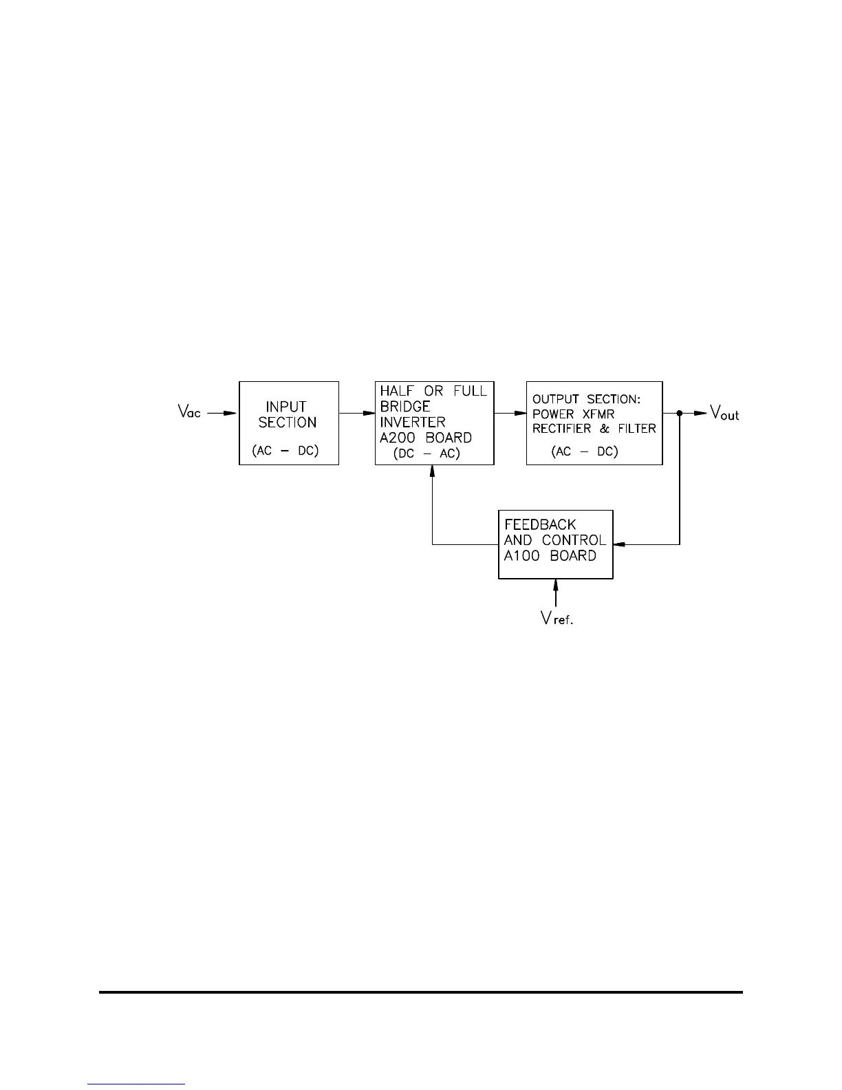
The basic principle of operation is outlined in this section. A simplified diagram of the
EMS power supply is shown below in figure 4.1. The power supply is made of the input
section ( rectifier and the filter), the inverter (A200 Bd.), the output section, and the control
section which is made of the A100 Bd. The input AC voltage is rectified and filtered to
produce an unregulated high voltage dc. The unregulated high voltage dc is then converted
by the inverter (A200 Bd.) into a high frequency ac square wave. This waveform is stepped
up or down by a high frequency isolation transformer. The secondary output is rectified and
filtered to produce the required low ripple output voltage. The output is attenuated down and
compared against a reference voltage, thus regulating the output. Regulation is achieved
through modulation of the pulse-width generated by the control stage (A100 Bd.).
Figure 4.1: Simplified EMS Power Supply
4.2 INPUT SECTION
The AC input enters through TB2 on the rear of the unit. It passes through the power line
filter on the A300 board. The purpose of the Power Line Filter is to attenuate high frequency
conducted emissions generated inside the unit, thus reducing the high frequency current
emitted onto the power source. The load side of the line filter connects to a DPDT switch
which allows power to pass through to the rectifier bridge to supply the DC bus capacitors
C1 and C2. At turn on, the contact of K1 is in the open position, limiting the inrush current
through the rectifiers. After a delay of about 3 to 4 seconds, the contact closes allowing
normal power transfer. The input AC voltage is rectified and filtered producing an
unregulated high voltage dc.
4.3 A200 INVERTER BOARD
The unregulated high voltage DC is fed into the A200 Inverter board, which consists of a set
of power transistors configured as a half or full bridge inverter (half bridge for the
600W/1KW). The DC bus is locally bypassed by two capacitors minimizing the area of high
83-473-000 Revision J
4 - 1 Theory of Operation

Table of Contents

Related product manuals