EasyManua.ls Logo

Lauda Integral T 10000 W - Page 60

Default Icon
108 pages
Print Icon
To Next Page IconTo Next Page
To Next Page IconTo Next Page
To Previous Page IconTo Previous Page
To Previous Page IconTo Previous Page
Loading...
Integral T process thermostats
60 Starting up YAWE 0026 / 21/01/2019
Accuracy of the inputs and outputs after calibration is
better than ± 0,1 % full scale
Resolution of the outputs
Temperature < 0,01 % of the range however
not < 0.01 °C
controller output Y 0.1 %
Pressure 0.1 bar
Current inputs input impedance < 100 Ohm
Voltage inputs input impedance > 50 kOhm
Current outputs max. burden 400 Ohm
Voltage outputs min. load 10 kOhm.
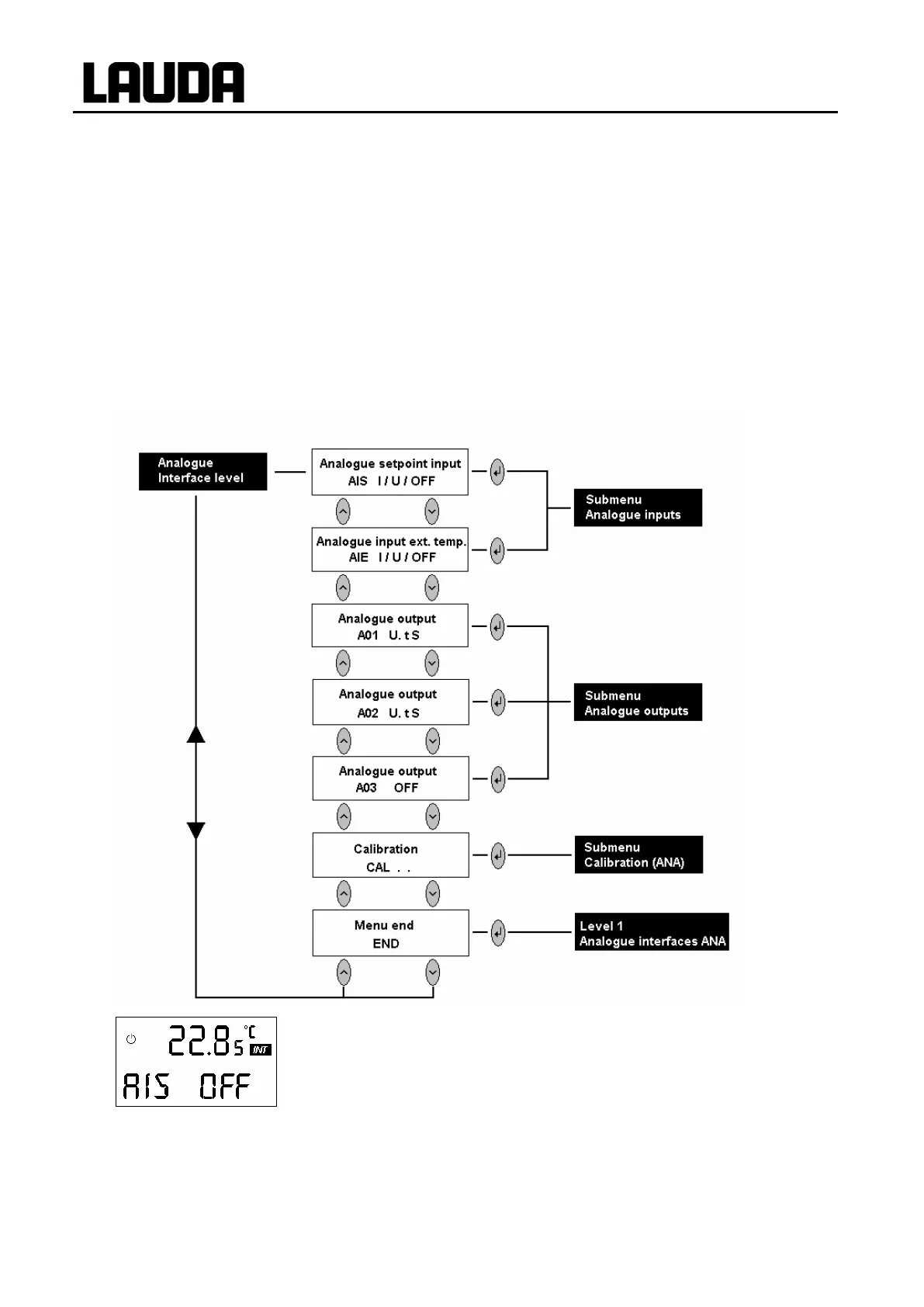
AIS = analogue Input Setpoint
OFF = setpoint input is switched off, i.e. manual value
setting or value set via serial interface is active.
7.6.5.1
7.6.5.2
7.6.5.3

Table of Contents

Related product manuals