EasyManua.ls Logo

LENCO SVB - Switch Template

LENCO SVB
24 pages
Print Icon
To Next Page IconTo Next Page
To Next Page IconTo Next Page
To Previous Page IconTo Previous Page
To Previous Page IconTo Previous Page
Loading...
22
Owner’s Manual
124SSR / 123SC / 123DR
Tactile Switch Template
Remove the template from the owner’s
manual by cutting around the dashed
rectangular perimeter line.
Align the 3/16" (.48 cm) drill bit with each
of the four black circles and drill straight
down through the helm, providing
clearance for the mounting hardware
provided with the switch.
Align the centering bit of a 2" (5.08 cm)
hole saw with the cross hairs in the
center of the 2" (5.08 cm) dashed circular
perimeter and drill straight down through
the helm, providing additional clearance
for switch and electrical connection.
2" (5.08 cm) hole for
Switch Key Pads
Tactile Switch Connection
Mount control box within
24" (60.96 cm) of keypad.
Control box wire harness is
30" (76.2 cm) in length
Switch Template
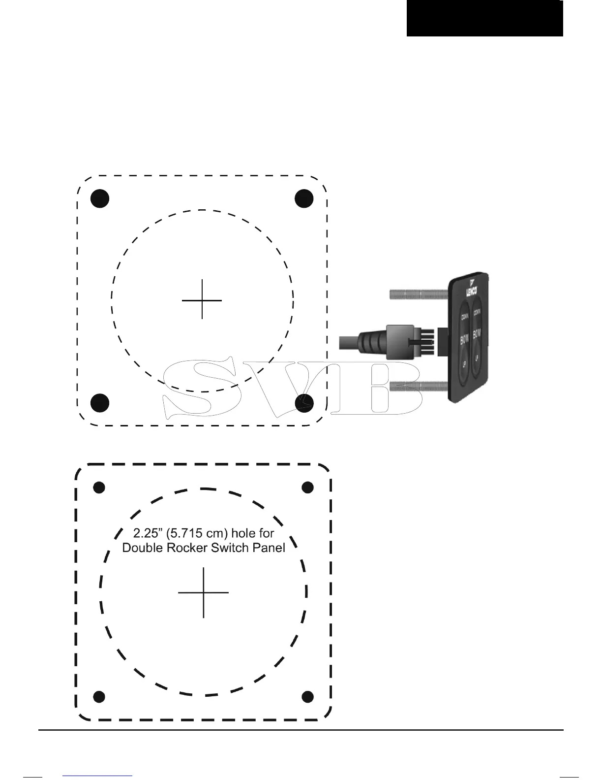
122 Double Rocker Switch Template
Remove the template from the
owners manual by cutting around the
dashed rectangular perimeter line.
Align the centering bit of a 2.25"
(5.715 cm) hole saw with the cross
hairs in the center of the 2.25" (5.715
cm) dashed circular perimeter and
drill straight down through the helm,
providing additional clearance for
switch and electrical connection.
Before drilling the four switch
mounting holes, drill a small pilot hole
using a 1/8" (.32 cm) diameter drill bit.
Make sure pilot holes are straight.