EasyManua.ls Logo

Lennox CBA27UHE-030

Lennox CBA27UHE-030
45 pages
To Next Page IconTo Next Page
To Next Page IconTo Next Page
To Previous Page IconTo Previous Page
To Previous Page IconTo Previous Page
Loading...
Page 42
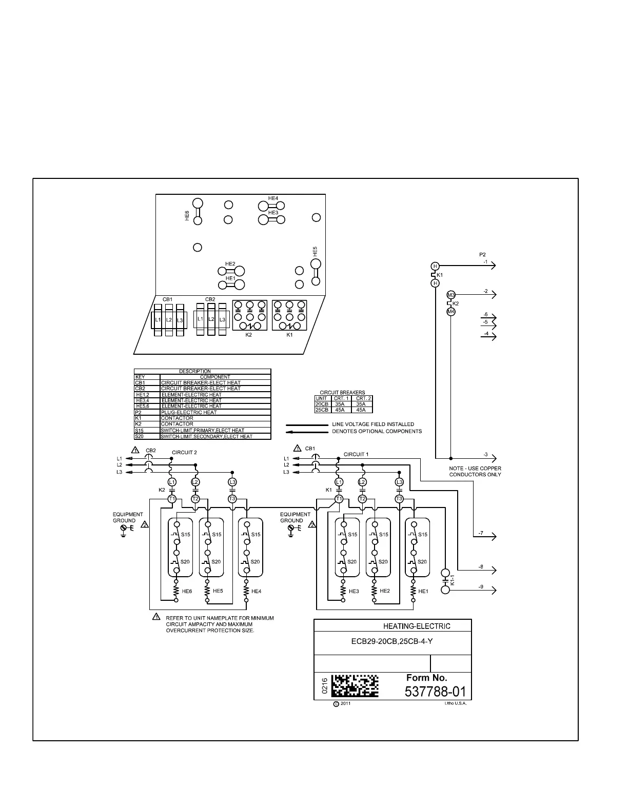
J-ECB29‐20CB, ‐25CB - 208/230V THREE PHASE - SEQUENCE OF OPERATION
FIRST STAGE HEAT
1- When there is a call for heat, W1 of the thermostat ener
gizes the electric heat contactor K1 with 24VAC.
2- When K1‐1 closes, the blower is energized on heat
ing speed.
3- When K1 contactor closes, assuming the N.C. pri
mary (S15) and secondary (S20) limit switches are
closed, electric heat elements HE1, HE2 and HE3
are energized.
SECOND STAGE HEAT
(remove jumper between W2 and R)
4- W2 of the thermostat sends a second stage heat de
mand, energizing the electric heat contactor K2 with
24VAC.
5- When K2‐1 closes, the blower (if not energized) is
energized on heating speed.
6- When K2 contactor contacts close, assuming the N.C.
primary (S15) and secondary (S20) limit switches are
closed, electric heat elements HE4, HE5, and HE6 are
energized.

Other manuals for Lennox CBA27UHE-030

Related product manuals