EasyManua.ls Logo

Lennox EL297UH135XV60D - Page 53

Lennox EL297UH135XV60D
115 pages
To Next Page IconTo Next Page
To Next Page IconTo Next Page
To Previous Page IconTo Previous Page
To Previous Page IconTo Previous Page
Loading...
Page 53
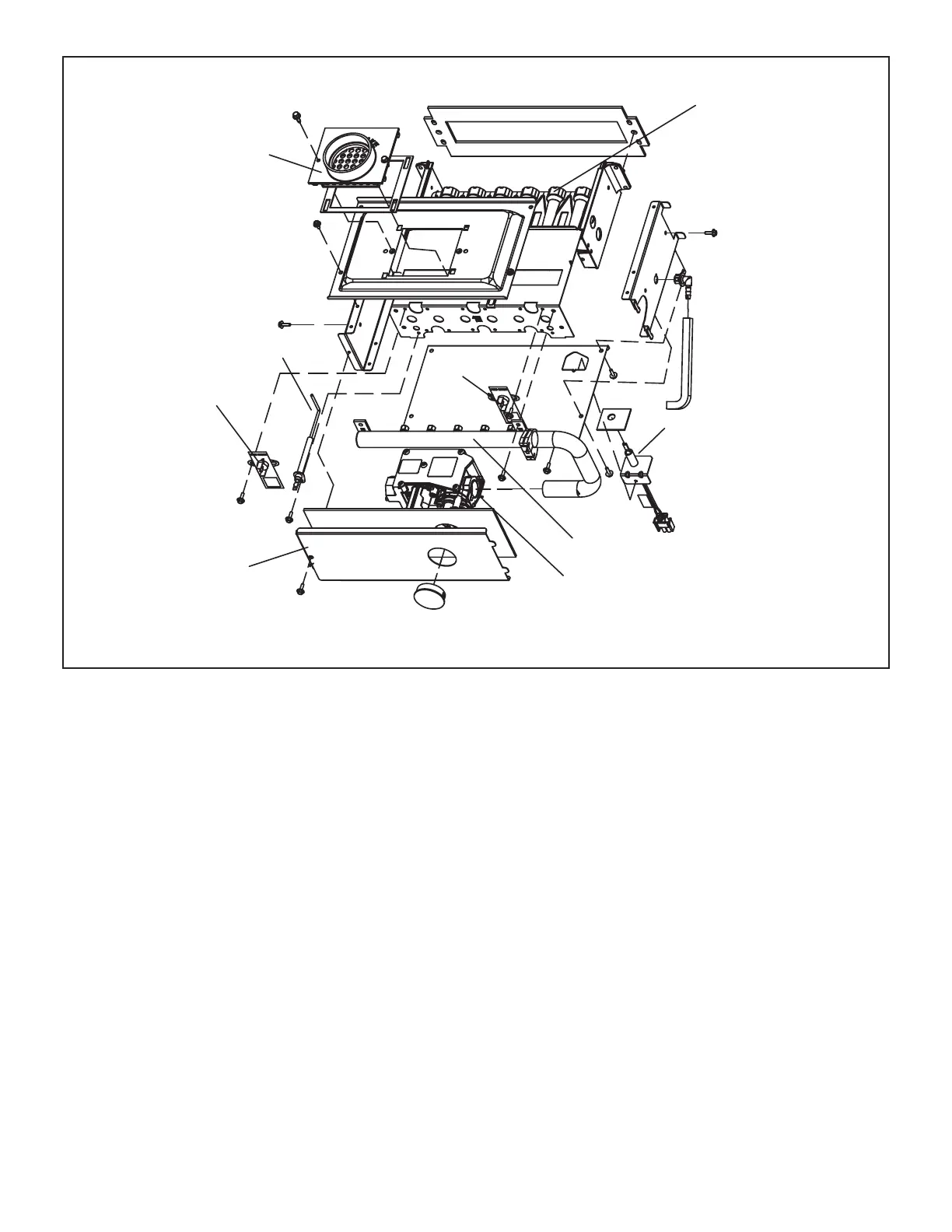
HEATING COMPONENTS
Intake Air Top Cap
Sensor
Rollout Switch
Rollout Switch
Burner Assembly
Ignitor
Manifold And Gas Orifices
Two-Stage Gas Valve
Burner Box Cover
FIGURE 15

Related product manuals