EasyManua.ls Logo

Lennox HS27-042 - Unit Dimensions; Parts Arrangement; Setting the Unit

Lennox HS27-042
16 pages
To Next Page IconTo Next Page
To Next Page IconTo Next Page
To Previous Page IconTo Previous Page
To Previous Page IconTo Previous Page
Loading...
Page 3
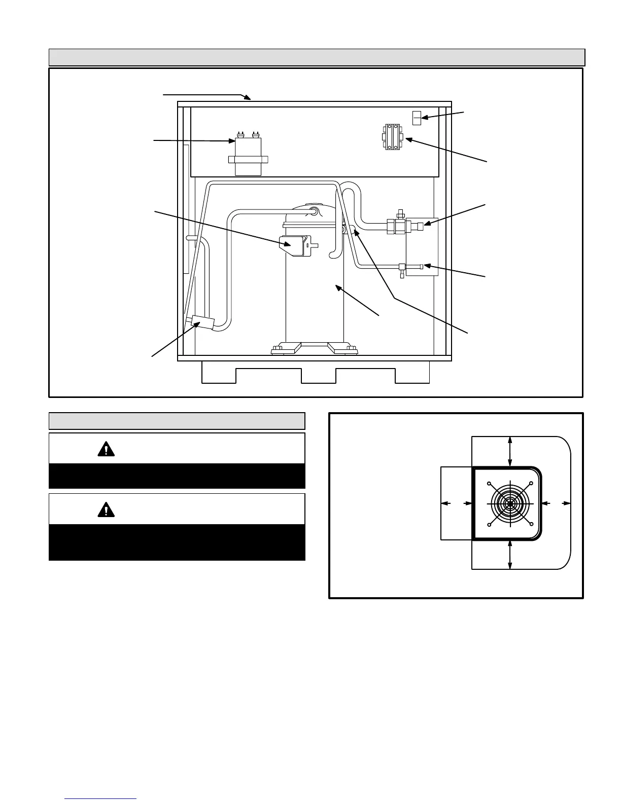
Parts Arrangement
Figure 1
outdoor fan
(not shown)
top of cabinet
contactor
run capacitor
terminal box
liquid line
service valve
and gauge port
vapor valve
and gauge port
compressor
low pressure
switch
high pressure
switch
ground lug
Setting the Unit
CAUTION
In order to avoid injury, take proper precaution when
lifting heavy objects.
CAUTION
Danger of sharp metallic edges. Can cause injury.
Take care when servicing unit to avoid accidental
contact with sharp edges.
Refer to unit dimensions for sizing mounting slab, platform-
s, or supports. Refer to figure 2 for installation clearances.
36"
(914 mm)
36"
(914 mm)
*36"
(914 mm)
*36"
(914 mm)
Installation Clearances
Figure 2
NOTE − A service access
clearance of 30" (762 mm)
must be maintained in front
of the service access panel.
Clearance to one side must
be 36" (914 mm). Clearance
to one of the remaining two
sides may be 12" (304 mm)
and the final side may be 6"
(152 mm).
NOTE − A clearance of 24" (610 mm)
must be maintained between two units.
NOTE − 48" (1219 mm) clearance required on top
of unit. Maximum soffit overhang is 36" (914 mm).

Related product manuals