EasyManua.ls Logo

Lennox LRP16G - Utility Connections

Lennox LRP16G
30 pages
Print Icon
To Next Page IconTo Next Page
To Next Page IconTo Next Page
To Previous Page IconTo Previous Page
To Previous Page IconTo Previous Page
Loading...
Page 11
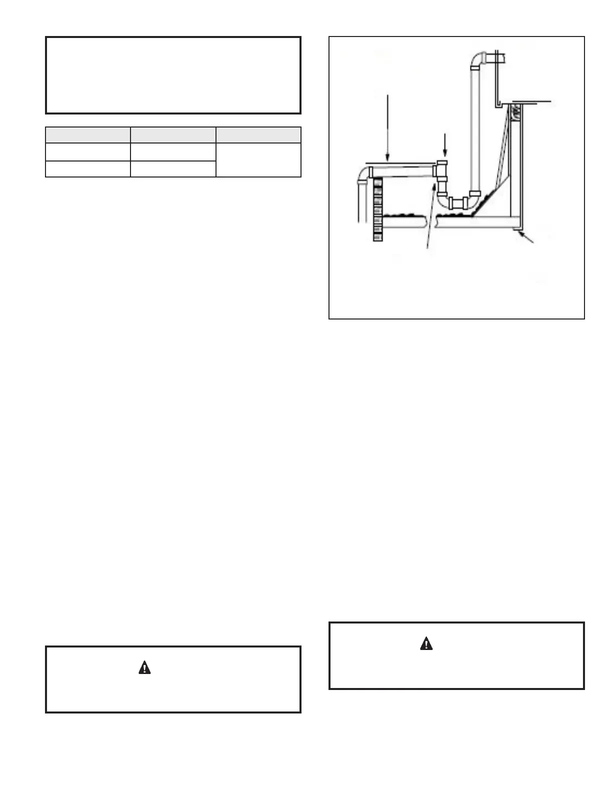
Condensate Drain
This package unit is equipped with a 3/4” FPT coupling
for condensate line connection. Plumbing must conform
to local codes. Use a sealing compound on male pipe
threads.
Do not operate unit without a drain trap. The condensate
drain is on the negative pressure side of the blower;
therefore, air being pulled through the condensate line will
prevent positive drainage without a proper trap.
The condensate drain line must be properly trapped,
routed to a suitable drain and primed prior to unit
commissioning.
NOTE: Install drain lines and trap so they do not block
service access to the unit.
See Figure 3 for proper drain arrangement. The drain line
must pitch to an open drain or pump to prevent clogging
of the line. Seal around the drain connection with suitable
material to prevent air leakage into the return air system.
To prime trap, pour several quarts of water into drain,
enough to ll drain trap and line.
Drain lines should be hand-tightened only. Do not use
tools to tighten tting into drain.
CAUTION
Gas Piping
Proper sizing of a gas piping depends on the cubic feet per
hour of gas ow required, specic gravity of the gas, and
length of run. National Fuel Gas Code Z223.1 latest edition
should be followed in all cases unless superseded by local
codes or gas company requirements. In Canada, refer to
CAN/CGA B.149.1 & .2 (latest edition).
The heating value of the gas may di󰀨er with locality. The
value should be checked with the local gas utility. For
temperature rise of unit, see unit rating plate.
Gas Piping Recommendations
A drip leg and a ground joint union must be installed in
the gas piping. A ground joint union is recommended
by the manifold/valve.
When required by local codes, a manual shuto󰀨 valve
may have to be installed outside of the unit.
Use pipe thread sealing compound resistant to
propane gas sparingly on male threads.
Never use a ame to check for gas leaks. Explosion
causing injury or death may occur.
WARNING
The gas supply should be a separate line and installed
in accordance with all safety codes listed on Page 1.
After the gas connections have been completed, open
the main shuto󰀨 valve admitting normal gas pressure
The lter rack must be installed prior to installation of
the unit in applications where access to the rear panel
is limited.
NOTE:
Table 2. Unit Air Filter Sizes - inches
Unit Model Filter 1 Filter 2
24,36 14 x 20 x 1
20 x 20 x 1
48,60 20 x 20 x 1
A Photocatalytic Oxidation (PCO) air purication system
is available as a eld installed accessory for this product.
A wiring harness for the installation of this accessory
has been factory installed. If this accessory is going to
be installed it becomes critical that the system lter be
installed ahead of this unit’s return. Therefore, see the
PCO accessory for lter requirements, plan the installation
of lter ahead of this unit, and do not use the internal
lter rack described above.
Minimum Pitch:
1 in (25) Per 10”
(3048 mm) of
Line
Open
Vent
Unit
Trap must be deep enough to o󰀨set maximum static di󰀨erence
(generally, 3 inches (76 mm) minimum). In addition, the drain line
must be supported if longer than 10 feet.
Trap must be primed at start-up.
Mounting
Frame
Figure 3. Typical Condensate Drain Connection

Related product manuals