EasyManua.ls Logo

Lennox Merit Series13ACD - Refrigerant System Preparation; Service Valve Operation

Lennox Merit Series13ACD
20 pages
To Next Page IconTo Next Page
To Next Page IconTo Next Page
To Previous Page IconTo Previous Page
To Previous Page IconTo Previous Page
Loading...
Page 3
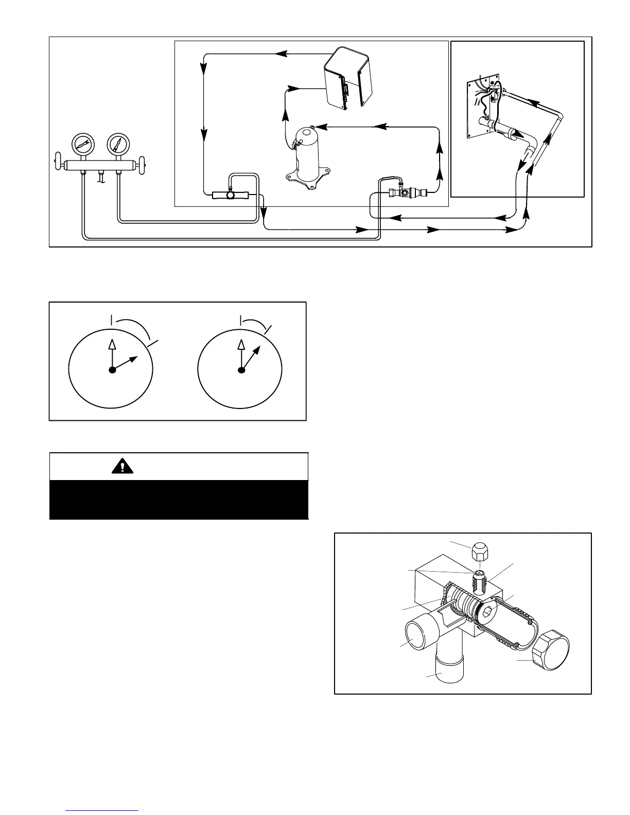
13ACD SERIES
OUTDOOR
COIL
TO
HFC−410A
DRUM
LOW
PRESSURE
COMPRESSOR
SUCTION LINE
SERVICE VALVE
TXV OR FIXED
ORIFICE
GAUGE MANIFOLD
HIGH
PRESSURE
LIQUID LINE
SERVICE VALVE
OUTDOOR UNIT
(Uncased Coil Shown)
Figure 1. Typical Manifold Gauge Connection Setup
Each valve is equipped with a service port which has a
factory−installed valve stem.
1
2
3
4
5
6
7
8
9
10
11
12
1/6 TURN
1
2
3
4
5
6
7
8
9
10
11
12
1/12 TURN
Figure 2. Cap Tightening Distances
IMPORTANT
To prevent stripping of the various caps used, the
appropriately sized wrench should be used and
fitted snugly over the cap before tightening.
Operating Angle−Type Service Valve
To Access Angle−Type Service Port:
A service port cap protects the service port core from
contamination and serves as the primary leak seal.
1. Remove service port cap with an appropriately sized
wrench.
2. Connect gauge to the service port.
3. When testing is completed, replace service port cap and
tighten as follows:
With Torque Wrench: Finger tighten and then
tighten per table 1.
Without Torque Wrench: Finger tighten and use an
appropriately sized wrench to turn an additional
1/6 turn clockwise as illustrated in figure 2.
To Open and Close Angle−Type Service Valve:
A valve stem cap protects the valve stem from
contamination and assures a leak−free seal.
1. Remove stem cap with an appropriately sized wrench.
2. Use a service wrench with a hex−head extension
(3/16" for liquid-line valve sizes and 5/16" for
suction-line valve sizes) to back the stem out
counterclockwise as far as it will go.
3. Replace the stem cap and tighten as follows:
With Torque Wrench: Tighten finger tight and then
tighten per table 1.
Without Torque Wrench: Finger tighten and use an
appropriately sized wrench to turn an additional
1/12 turn clockwise as illustrated in figure 2.
NOTE − A label with specific torque requirements may be
affixed to the stem cap. If the label is present, use the
specified torque.
NOTE− To prevent stripping of the cap, the wrench should
be appropriately sized and fit snugly over the cap before
tightening the cap.
(VALVE STEM SHOWN
CLOSED) INSERT HEX
WRENCH HERE
VALVE STEM
FRONT-SEATED
TO OUTDOOR UNIT
SERVICE PORT
CORE
TO INDOOR
UNIT
SERVICE PORT
SERVICE PORT CAP
CLOSED TO BOTH
INDOOR AND
OUTDOOR UNITS
STEM CAP
Figure 3. Angle−Type Service Valve
(Font−Seated Closed)

Related product manuals