EasyManua.ls Logo

Lenze 493 - Connecting Diagram and Wiring; Schematic of Electrical Connections

Lenze 493
23 pages
Print Icon
To Next Page IconTo Next Page
To Next Page IconTo Next Page
To Previous Page IconTo Previous Page
To Previous Page IconTo Previous Page
Loading...
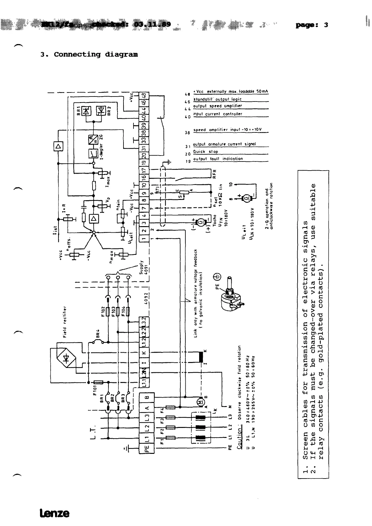
3.
Connectlng
diagram
03
‚-4
4->
CO
CO
‚-403
~CO
COU2
~
03
-~
o~
CO
~.4
4->
03
~‚4->
‚-4
~
03
~O
03C)
~
o
o‘ti~
103
4->
o
03<~
-H
~r-4
CO~Q.
1
CO~
1
H
,~ ‚~
~
CO
0
~
e~.Q
CO~
~
o
~‚—
4-‘
COCO
CO~4
4->
03<~C)
r4~
I~
g~
.,..4
~
UCOo
~03
QhL
>.1
034->
I~
~-4
r4
rJ4-4
03
U~H
~-i
HC‘~
Lanze
0—
a
~
00
0•-
~4
0

Related product manuals