EasyManua.ls Logo

Lenze AC Tech SCF Series - Page 25

Lenze AC Tech SCF Series
70 pages
Print Icon
To Next Page IconTo Next Page
To Next Page IconTo Next Page
To Previous Page IconTo Previous Page
To Previous Page IconTo Previous Page
Loading...
For Sales and Support, Contact Walker EMD • Toll-free: (800) 876-4444 • Tel: (203) 426-7700 • Fax: (203) 426-7800 • www.walkeremd.com
22 SF01U
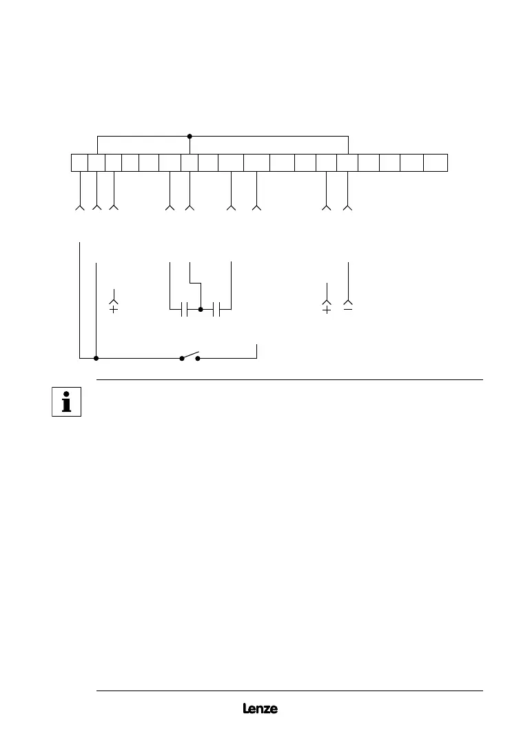
11.3 ALTERNATE TWO-WIRE START/STOP CONTROL
Shown below is the wiring diagram for an alternate two-wire start/stop control scheme,
using one maintained contact for RUN FORWARD and another maintained contact for RUN
REVERSE.
1 2
5 6
12
TXA TXB
2 13A 13B 13C14 15 2
STOP
COMMON
0-10 VDC INPUT
COMMON
RUN FWD
RUN REV
0-10 VDC or 4-20 mA SELECT
COMMON
4-20 mA INPUT
11 25 31
30
The TB-2 terminals are internally connected to each other
NOTE
For this control scheme, TB-13A MUST be set to RUN REVERSE (05),
even if REVERSE direction is not required. Refer to Parameter 10 - TB13A
FUNCTION
Close TB-12 to TB-2 to RUN, and open TB-12 to TB-2 to STOP
If reverse direction is also required, ROTATION DIRECTION (Parameter
17) must be set to FORWARD AND REVERSE (02). Close TB-13A to
TB-2 to RUN in REVERSE, and open TB-13A to TB-2 to STOP. If TB-12
and TB-13A are closed to TB-2, the drive will STOP
For 0-10 VDC or 4-20 mA speed control, use one of the following
methods:
- Program one of the TB-13 terminals (13A, 13B, or 13C) for 0-10
VDC (02) or 4-20 mA (03). When that TB-13 terminal is closed to
TB-2, the drive will respond to the selected speed reference signal.
If that TB-13 terminal is not closed to TB-2, the drive will respond to
the speed control source selected in Parameter 05 - STANDARD
SPEED SOURCE. This method must be used if it is necessary to
toggle between two speed sources.
- Program Parameter 05 - STANDARD SPEED SOURCE for 0-10 VDC
(03) or 4-20 mA (04). This method is preferable if only one speed
source is required, as this method leaves the TB-13 terminals free to
be used for other functions.
Artisan Technology Group - Quality Instrumentation ... Guaranteed | (888) 88-SOURCE | www.artisantg.com