EasyManua.ls Logo

Lenze EVS9324-EK - Page 313

Lenze EVS9324-EK
524 pages
Print Icon
To Next Page IconTo Next Page
To Next Page IconTo Next Page
To Previous Page IconTo Previous Page
To Previous Page IconTo Previous Page
Loading...
Function block library
7-196
SHB9300CRV EN 2.0
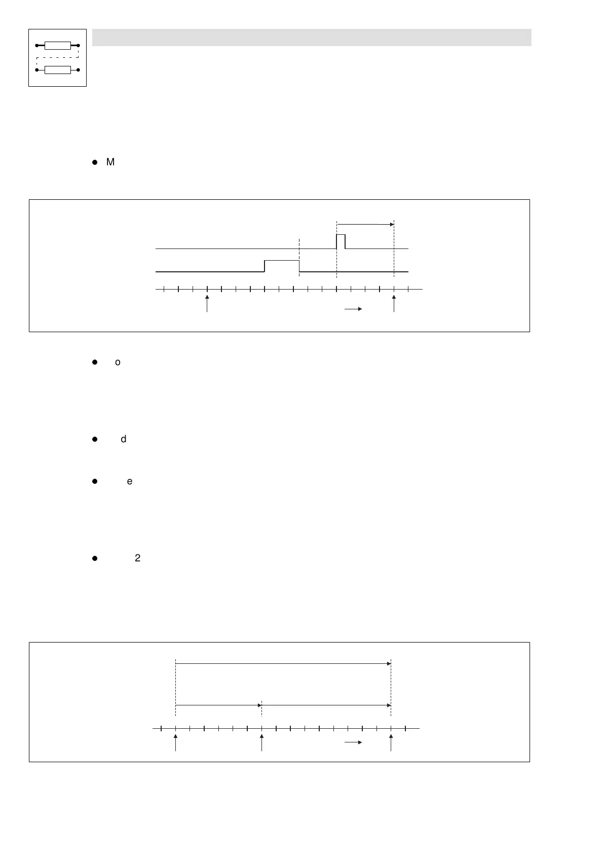
Homing with home switch and touch probe
Thehomeposition is afterthenegativetransition of thehomeswitchREFC-MARKat thetouchprobe
signal (terminal X5/E4)plus the home position offset:
l
Mode 6 (C0932 = 6):
Go to home position in CW direction.
Select positive home position offset under C0934.
X5/E4
REF-MARK
C0934
H om e positio
n
Start
Travelling direction
Travelling
distance
Fig. 7- 161 Homing wit h t ouch p robe; go to home p osition in CW direction
l
Mode 7 (C0932 = 7):
Go to home position in CCW direction.
Select negative home position offset under C0934
Homing with touch probe (TP)
The home position is at the next touch probe signal (terminal X5/E4) plus the home position offset.
l
Mode 8 (C0932 = 8):
Go to home position in CW direction.
Select positive home position offset under C0934.
l
Mode 9 (C0932 = 9):
Go to home position in CCW direction.
Select negative home position offset under C0934
Direct homing
The home position is at the home position offset.
l
Mode 20 (C0932 = 20):
The drive moves from the actual position (REFC-ACTPOS)to the home position directly after
activation (REFC-ON = HIGH).
Theactualpositionvalue(REFC-ACTPOS)canbeloadedbeforeusingtheinputvalue
REFC-ACTPOS-IN (see chapter LEERER MERKER).
The distance and the direction result from the actual position value (REFC-ACTPOS)and the
home position offset set (C0934).
Home
p
ositionStart Travellin
g
direction
Travelling
distance
H om e position offset (C 0934)
0
REF-ACTPO S Travelling distance
Fig. 7- 162 Direct homing; go t o home p osition in CW d irect ion
Show/Hide Bookmarks

Table of Contents

Related product manuals