EasyManua.ls Logo

Lester 07850 - Grounding Instructions; Equipment-Grounding Conductor; Normal Operation; Connecting Power Supply

Lester 07850
7 pages
Print Icon
To Next Page IconTo Next Page
To Next Page IconTo Next Page
To Previous Page IconTo Previous Page
To Previous Page IconTo Previous Page
Loading...
www.lesterelectrical.com 2 00870E
The use of an extension cord with the charger
should be avoided. The use of an improper
extension cord could result in a risk of fire or electric
shock. If an extension cord must be used, use a
three-conductor, No. 12 AWG cord with ground,
properly wired, in good electrical condition and keep
it as short as possible. Make sure that the pins on
the plug of the extension cord are the same number,
size, and shape as that of the plug on the battery
charger. Locate all cords so that they will not be
stepped on, tripped over, or otherwise subjected to
damage or stress.
Do not operate this charger if it has received a sharp
blow, was dropped, or otherwise damaged in any
manner; refer to a qualified service agent.
Provide adequate ventilation for the batteries and
charger. The convection-cooled design requires an
unobstructed flow of cooling air for proper operation.
Keep all charger ventilation openings at least two
inches (2") (5cm) away from walls and other objects.
Do not allow clothing, blankets, or other material to
cover the charger.
WARNING: CHARGERS CAN IGNITE
FLAMMABLE MATERIALS AND VAPORS. DO
NOT USE NEAR FUELS, GRAIN DUST,
SOLVENTS, OR OTHER FLAMMABLES.
WARNING: TO REDUCE THE RISK OF
ELECTRIC SHOCK, KEEP THE CHARGER DRY.
DO NOT EXPOSE IT TO RAIN. FOR STORAGE,
KEEP CHARGER IN A BUILDING.
GROUNDING INSTRUCTIONS
This battery charger must be grounded to reduce the
risk of electric shock. This charger is equipped with
an electric cord having an equipment-grounding
conductor and a grounding type plug and is for use
on a nominal 115 volt, 60 Hertz circuit. This plug
must be connected to an appropriate receptacle that
is properly installed and grounded in accordance
with the National Electrical Code and all local codes
and ordinances.
WARNING: IMPROPER CONNECTION OF
THE EQUIPMENT-GROUNDING CONDUCTOR
CAN RESULT IN RISK OF ELECTRIC SHOCK.
The conductor with insulation having an outer
surface that is green, with or without yellow stripe(s),
is the equipment-grounding conductor. If repair or
replacement of the electric cord or plug is necessary,
do not connect the equipment-grounding connector
to a live terminal. Refer to a qualified service agent.
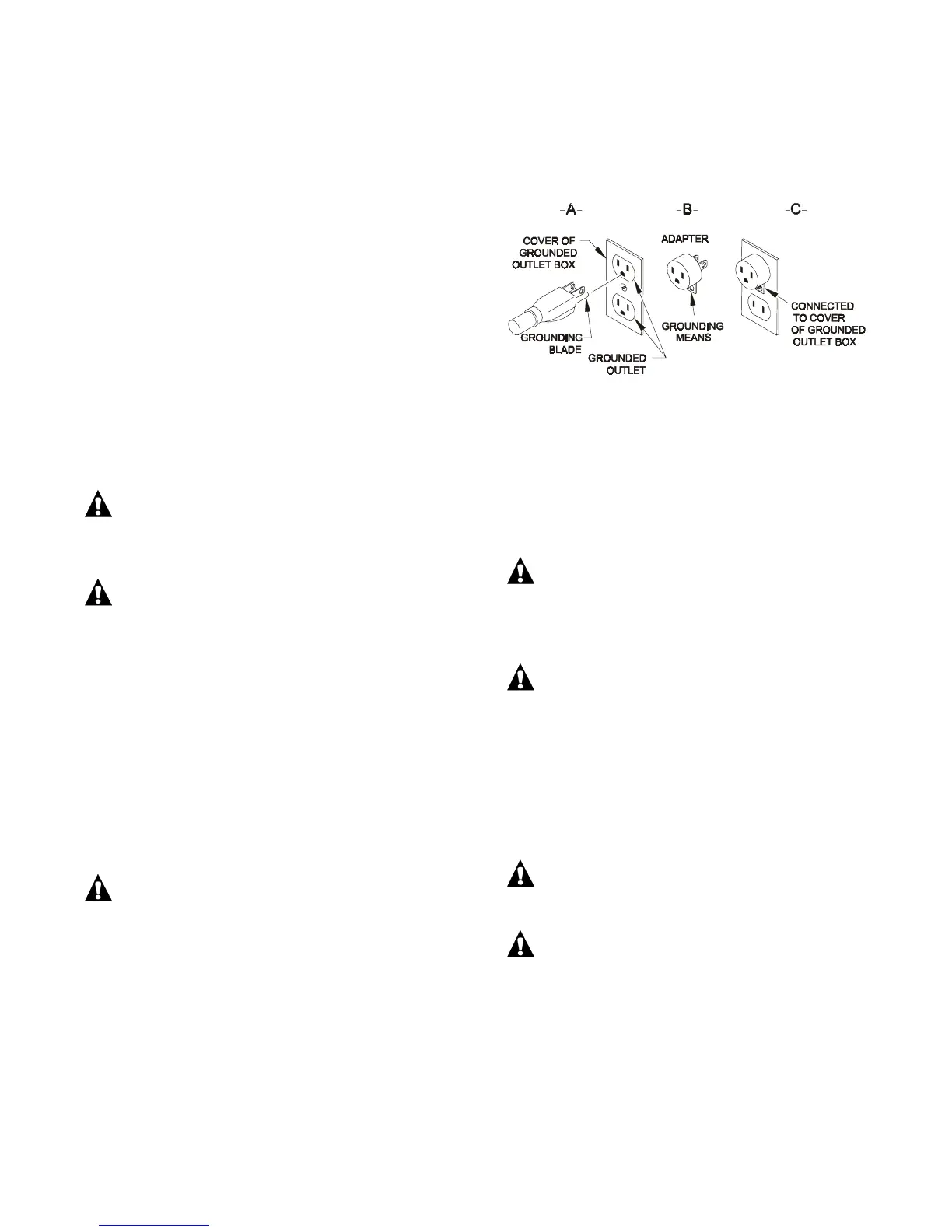
A temporary adapter, as illustrated in Figures B and
C, may be used to connect this plug to a two-pole
outlet as shown in Figure C if a properly grounded
outlet is not available. The temporary adapter
should be used only until a properly grounded outlet
can be installed by a qualified electrician. The
green-colored rigid ear or lug extending from the
adapter must be connected to a permanent ground
such as a properly grounded outlet box.
GROUNDING METHODS
NOTE: The use of the adapter shown in Figures B
and C is not permitted in Canada.
NORMAL OPERATION
The instructions printed on the charger are for
daily reference.
1. With the charger DC cord disconnected from the
batteries, connect the power supply cord to a
115 volt, 60 Hertz circuit.
WARNING: TO REDUCE THE RISK OF
ELECTRIC SHOCK, CONNECT ONLY TO A
PROPERLY GROUNDED, SINGLE-PHASE (3-
WIRE) OUTLET. REFER TO GROUNDING
INSTRUCTIONS.
CAUTION: MAKE SURE THE BATTERY
PACK IS A 36-VOLT, 18 CELL, SERIES
CONNECTED LEAD-ACID SYSTEM WITH A
CAPACITY OF 180 TO 230 AMPERE-HOURS (20
HR. RATING) OR 85 TO 110 MINUTES (BCI
RATING). THE FINISH ON-CHARGE BATTERY
VOLTAGE SHOULD BE 2.5 TO 2.6 VOLTS PER
CELL. DAMAGE TO THE CHARGER AND
BATTERIES MAY RESULT IF THIS CHARGER IS
USED ON THE WRONG BATTERIES.
WARNING: DO NOT TOUCH THE BATTERY
TERMINALS OR BLADES ON THE DC OUTPUT
PLUG. AN ELECTRIC SHOCK COULD RESULT.
WARNING: MAKE SURE THE DC OUTPUT
PLUG AND BATTERY RECEPTACLE ARE IN
GOOD WORKING CONDITION.
DO NOT USE THIS CHARGER IF:
The DC output plug is too loose or does not make
a good connection.
The DC output plug and receptacle feel hotter than
normal.
The DC output plug blades or receptacle contacts
are bent or corroded.

Related product manuals