EasyManua.ls Logo

LG GR-151SPF - PTC COMPONENT TESTING; Procedure for Testing PTC Functionality

LG GR-151SPF
13 pages
Print Icon
To Next Page IconTo Next Page
To Next Page IconTo Next Page
To Previous Page IconTo Previous Page
To Previous Page IconTo Previous Page
Loading...
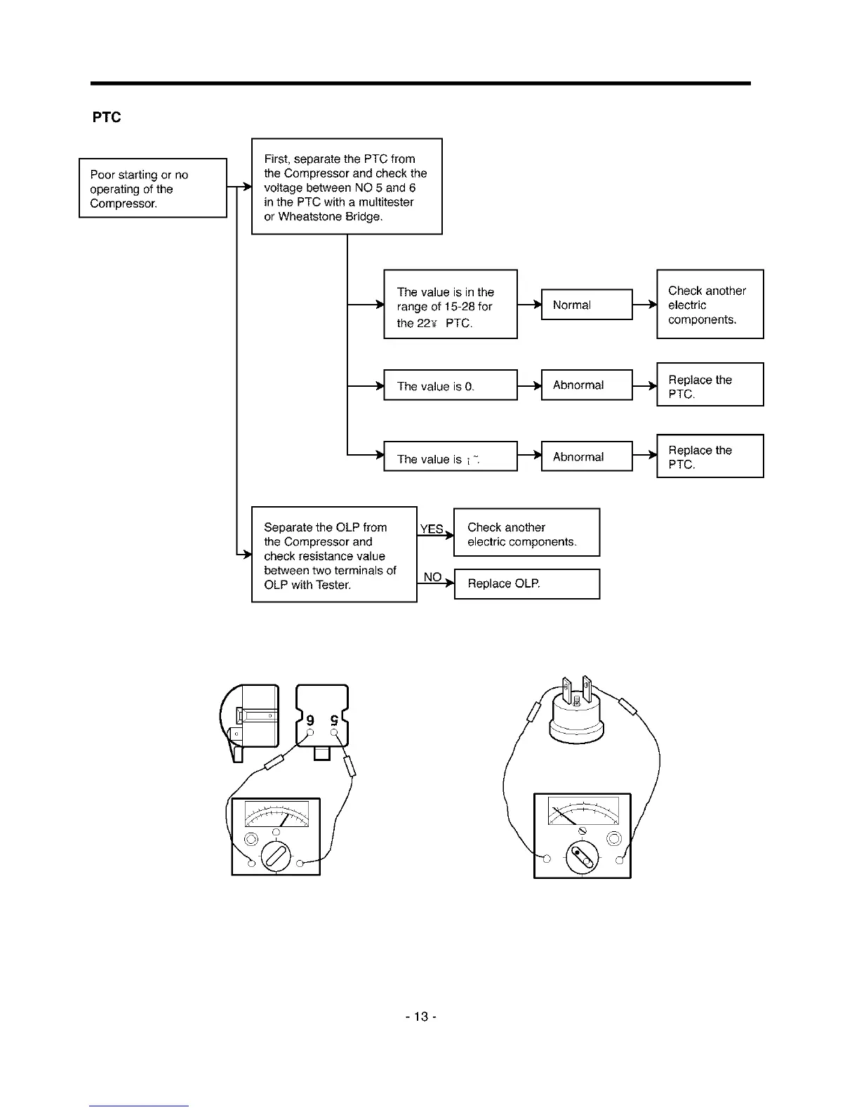
PTC
Poor starting or no
operating of the
Compressor.
First, separate the PTC from
the Compressor and check the
voltage between NO 5 and 6
in the PTC with a multitester
or Wheatstone Bridge.
._ The value is in the
range of 15-28 for Normal
the 22¥ PTC.
_-_ The value is 0. H
"_ The value is i -. _'_
.-.)
Separate the OLP from
the Compressor and
check resistance value
between two terminals of
OLP with Tester.
Abnormal
Abnormal
YE_ Check anotherelectric components.
"-'N-'Q--_ Replace OLP" l
F4
Check another
electric
components.
Replace the
PTC.
Replace the
PTC.
-13-

Related product manuals