EasyManua.ls Logo

LG LRDCS2603D - Control Panel

LG LRDCS2603D
56 pages
Print Icon
To Next Page IconTo Next Page
To Next Page IconTo Next Page
To Previous Page IconTo Previous Page
To Previous Page IconTo Previous Page
Loading...
25OPERATION
ENGLISH
Control Panel
Depending on the model, some of the following functions may not be available.
The actual control panel may differ from model to model.
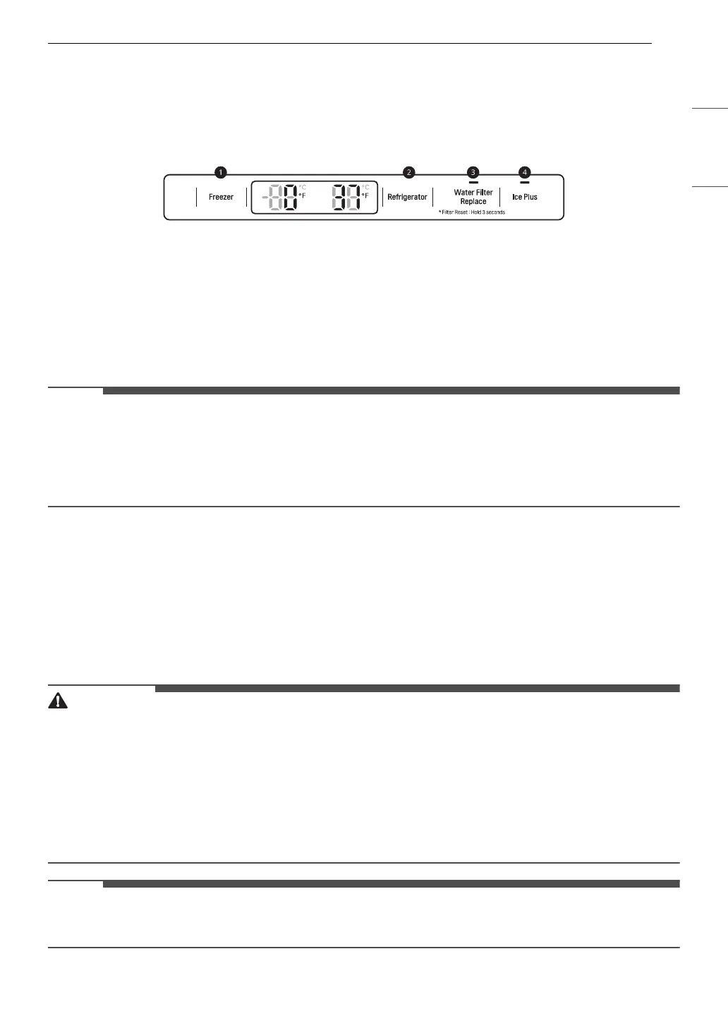
Control Panel Features
a Freezer
Indicates the set temperature of the freezer compartment in Celsius (°C) or Fahrenheit (°F). The default
freezer temperature is 0°F (-18 °C). Press the Freezer button repeatedly to select a new set
temperature from 5 °F to -7 °F (-23 °C to -15 °C).
b Refrigerator
Indicates the set temperature of the refrigerator compartment in Celsius (°C) or Fahrenheit (°F). The
default refrigerator temperature is 37 °F (3 °C). Press the Refrigerator button repeatedly to select a
new set temperature from 43 °F to 33 °F (7 °C to 1 °C).
NOTE
To change the temperature mode from °F to °C (or vice versa) press and hold the Refrigerator and
Freezer buttons simultaneously for approximately five seconds. The temperature indicator on the
display window switches between Celsius and Fahrenheit.
The displayed temperature is the target temperature, and not the actual temperature of the refrigerator.
The actual refrigerator temperature depends on the food inside the refrigerator.
c Water Filter Replace
Replace the water filter when the Water Filter Replace indicator turns on. After replacing the water
filter, press and hold the Water Filter Replace button for three seconds to turn the indicator light off.
Replace the water filter approximately every six months.
d Ice Plus
This function increases both ice making and freezing capabilities.
Press the Ice Plus button to illuminate the icon and activate the function for 24 hours. The function
automatically shuts off after 24 hours. Stop the function manually by pressing the button once more.
CAUTION
Display Mode (For Store Use Only)
The Display Mode disables all cooling in the refrigerator and freezer sections to conserve energy while
on display in a retail store. When activated, OFF is displayed on the control panel, and the display
remains on for 20 seconds.
To deactivate/activate:
- With either refrigerator door opened, press and hold the Refrigerator and Ice Plus buttons at the
same time for five seconds. The control panel beeps, and the temperature settings display to confirm
that Display Mode is deactivated. Use the same procedure to activate the Display Mode.
NOTE
When the refrigerator is in the Power Saving Mode, the display remains off until a door is opened or a
button is pressed. Once on, the display remains on for 20 seconds.
us_main.book.book Page 25 Monday, March 2, 2020 3:48 PM

Related product manuals