EasyManua.ls Logo

LG WM4000H A Series - Product Overview; Product Features and Components

LG WM4000H A Series
60 pages
To Next Page IconTo Next Page
To Next Page IconTo Next Page
To Previous Page IconTo Previous Page
To Previous Page IconTo Previous Page
Loading...
7PRODUCT OVERVIEW
ENGLISH
PRODUCT OVERVIEW
Product Features
The images in this guide may be different from the actual components and accessories, which are subject
to change by the manufacturer without prior notice for product improvement purposes.
WARNING
For your safety and for extended product life, use only authorized components. The manufacturer is not
responsible for product malfunction, property damage or bodily injury caused by the use of separately
purchased unauthorized components, parts, or non-LG products.
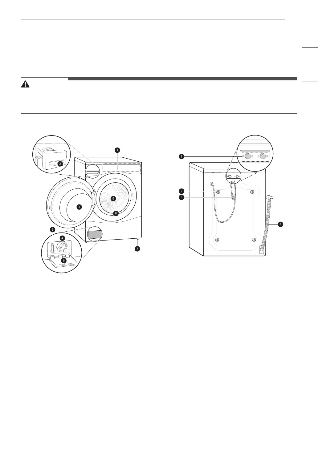
Front View
a Control Panel
b Detergent Dispenser Drawer
c Door
d Drain Pump Filter
e Drain Hose
f Drain Pump Filter Cover
g Leveling Feet
h Door Seal
i Drum
Rear View
a Water Inlets
b Shipping Bolts
c Power Cord
d Drain Hose

Other manuals for LG WM4000H A Series

Related product manuals