EasyManua.ls Logo

LG WT1701C - Page 55

LG WT1701C
80 pages
Print Icon
To Next Page IconTo Next Page
To Next Page IconTo Next Page
To Previous Page IconTo Previous Page
To Previous Page IconTo Previous Page
Loading...
17
FRANÇAIS
MODE D’EMPLOI
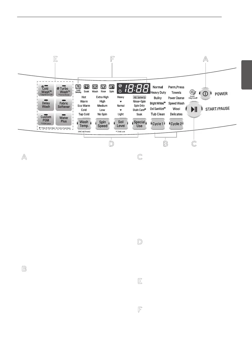
CARACTÉRISTIQUES DU PANNEAU DE CONFIGURATION
A
BOUTON D’ALIMENTATION
(MARCHE/ARRÊT)
Appuyez sur ce bouton pour mettre en
marche le lave-linge (ON). Appuyez à
nouveau pour mettre le lave-linge hors
tension (OFF). Le fait d’appuyer sur le
bouton POWER au cours d’un cycle va
annuler ce cycle et tous les paramètres
associés seront supprimés.
REMARQUE: Si de l'eau demeure dans
la cuvette à la fin du cycle de lavage,
cette eau est évacuée après cinq min-
utes. La machine à laver peut être re-
mise en marche à tout moment avant le
début de la vidange. Par contre, lorsque
le vidange des eaux est amorcée, toutes
les fonctions sont suspendues jusqu'à
ce que l'eau soit complètement vidé et
la machine d'éteinte.
B
LECTEUR DE CYCLE
Appuyez de manière répétée sur le bou-
ton Cycle jusqu’à la sélection du cycle
souhaité . Une fois le cycle désiré a été
sélectionné, les préréglages standards
seront affichés dans l’affichage. Ces
paramètres peuvent être définis en util-
isant les boutons de réglage de cycle
avant le début du cycle.
REMARQUE: : Pour protéger vos vête-
ments, les réglages ne sont pas tous
disponible pour toutes les sélections de
cycle.
C
BOUTON DÉMARRER/PAUSE
Appuyez sur ce bouton pour démarrer
le cycle sélectionné. Si le lave-linge est
en cours d’utilisation, utilisez ce bouton
pour INTERROMPRE (pause) le cycle
sans perdre les réglages actuels.
REMARQUE: Si vous n'appuyez pas
sur le bouton DÉMARRAGE/PAUSE
dans les cinq minutes suivant la sélec-
tion de cycle, la machine à laver s'arrête
automatiquement et tous les réglages
sont annulés. Toute l'eau restante dans
la cuvette se draine après cinq minutes
de délai.
D
BOUTONS DE MODIFICATEUR DE CYCLE
Utilisez ces boutons pour ajuster les
paramètres du cycle sélectionné. Le la
lumière de réglage s'illumine au-dessus
des boutons pour désigner la sélection
courante.
E
BOUTONS DE CYCLE ET OPTION
SCIAUX
Ces boutons vous permettent la sélec-
tion des cycles ou des options spéciaux.
F
AFFICHAGE DU TEMPS ET DU
STATUT
L'écran affiche le statut du cycle et le
temps restant.
MODE DEMPLOI
CB
E F A
D