EasyManua.ls Logo

Lifetime 1558 - Connecting Backboard Assembly to Pole

Lifetime 1558
48 pages
Print Icon
To Next Page IconTo Next Page
To Next Page IconTo Next Page
To Previous Page IconTo Previous Page
To Previous Page IconTo Previous Page
Loading...
22
SECTION 4 (CONTINUED) / SECTION 4 (SUITE) / SECCIÓN 4 (CONTINUACIÓN)
TOOLS AND HARDWARE REQUIRED / OUTILS ET QUINCAILLERIE REQUIS / INSTRUMENTAL Y HERRAJE REQUERIDOS
AAX (x1)
4.5
Attach both counterbalance springs (AJY) to the hex bolt (DFC) as shown.
Attacher les deux ressorts de contre-balancement (AJY) au boulon hexagonal (DFC) comme indiqué.
Sujetar ambos resortes de contrapeso (AJY) al perno hexagonal (DFC) como se muestra.
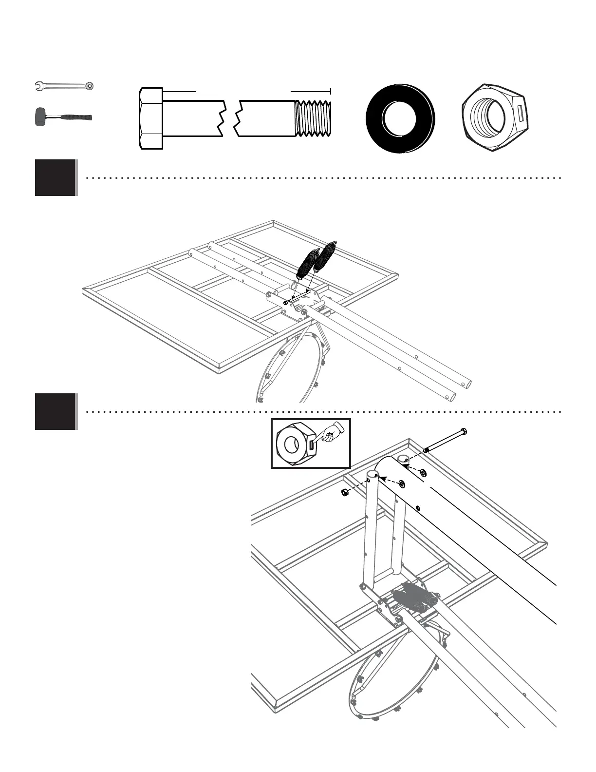
Lay the backboard assembly next to
the pole assembly. Rest the rim on
cardboard to prevent scratching. Then
secure the short extension arms (AKC) to the
top pole (ALH) with the hardware shown.
Mettre l’assemblage du panneau près
de l’assemblage du poteau. Mettre
l’anneau sur un morceau de bois ou
de carton pour empêcher les rayures.
Ensuite, serrer les bras de rallonge courts
(AKC) au poteau supérieur (ALH) à l’aide de la
quincaillerie indiquée.
Colocar el conjunto del tablero cerca del
ensamble del poste. Colocar el aro sobre
una plaquita de madera o carton para
evitar que se hagan rasguños. Entonces,
apretar los brazos de extensión cortos (AKC)
al poste superior (ALH) usando el herraje
indicado.
AJY
AAD
AAX
ABN
ABN
AJY
DFC
AAD (x1)
7 1/16" (≈18 cm)
ABN (x2)
4.4
7 1/16 in/po (17,9 cm)
3/4" (≈19 mm) (x2)

Related product manuals